Curiosii for ever!
: Car repair manuals for everyone.
Home
>>
Pontiac
>>
2008
>>
G8 V6-3.6L
>>
Repair and Diagnosis
>>
Diagrams
>>
Connector Views
>>
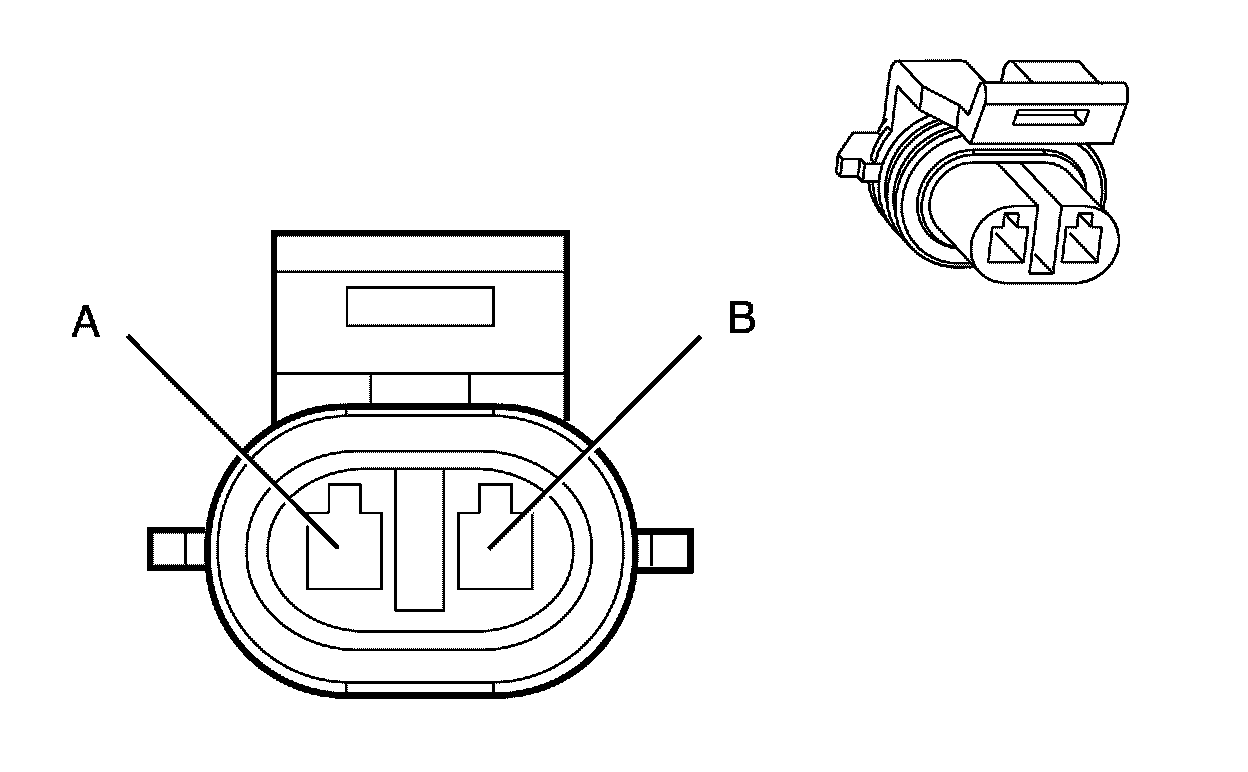
Ambient Temperature Sensor / Switch HVAC
Ambient Temperature Sensor / Switch HVAC
Component Connector End Views
Ambient Air Temperature Sensor