Curiosii for ever!: Car repair manuals for everyone.

Air Bag



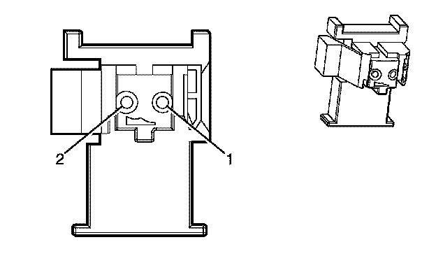
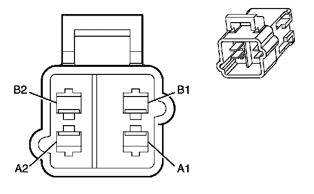
Component Connector End Views

Inflatable Restraint I/P Module X1














Inflatable Restraint I/P Module X2














Inflatable Restraint Steering Wheel Module Coil X1






Inflatable Restraint Steering Wheel Module Coil X2














Inflatable Restraint Steering Wheel Module X1














Inflatable Restraint Steering Wheel Module X2














Inflatable Restraint Roof Rail Module - Left














Inflatable Restraint Roof Rail Module - Right














Inflatable Restraint Side Impact Module - Left X1






Inflatable Restraint Side Impact Module - Left X2










Inflatable Restraint Side Impact Module - Right X1






Inflatable Restraint Side Impact Module - Right X2