Curiosii for ever!: Car repair manuals for everyone.

Inside Rearview Mirror Replacement



Inside Rearview Mirror Replacement

Removal Procedure





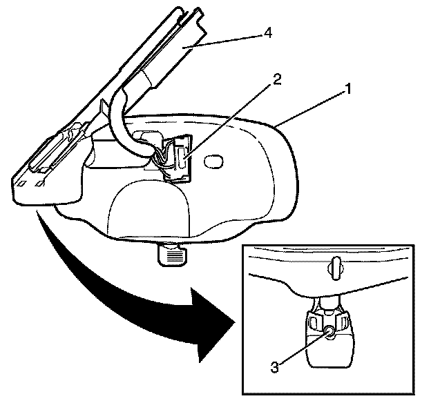
1. Detach the rearview mirror trim (4) from the headliner by gently sliding downward.
2. Disconnect the electrical connector (2) from the back of the rearview mirror (1).
3. Adjust the rearview mirror (1) to the full upright position.
4. At the rearview mirror assembly base, remove the rearview mirror assembly to windscreen retaining screw (3)





Important: Slide the rearview mirror assembly (1) upward to remove from the retaining plate (2).


5. Remove the rearview mirror assembly (1) from the vehicle.



Installation Procedure






Important: Position the center of the rearview mirror assembly (1) at the top of the retaining plate (2).


1. Install the rearview mirror assembly (1) to the vehicle.





Notice: Use the correct fastener in the correct location. Replacement fasteners must be the correct part number for the application.

2. Install the rearview mirror assembly to windscreen retaining plate retaining screw (3).

Tighten the screw to 2 N.m (18lb in)

3. Connect the electrical connector (2) to the mirror assembly (1).
4. Attach the rearview mirror trim (4) to the headliner by gently sliding upward.
5. Reposition the mirror assembly (1).
6. Calibrate the mirror compass. Refer to Control Module References (Programming and Relearning) .