Curiosii for ever!: Car repair manuals for everyone.

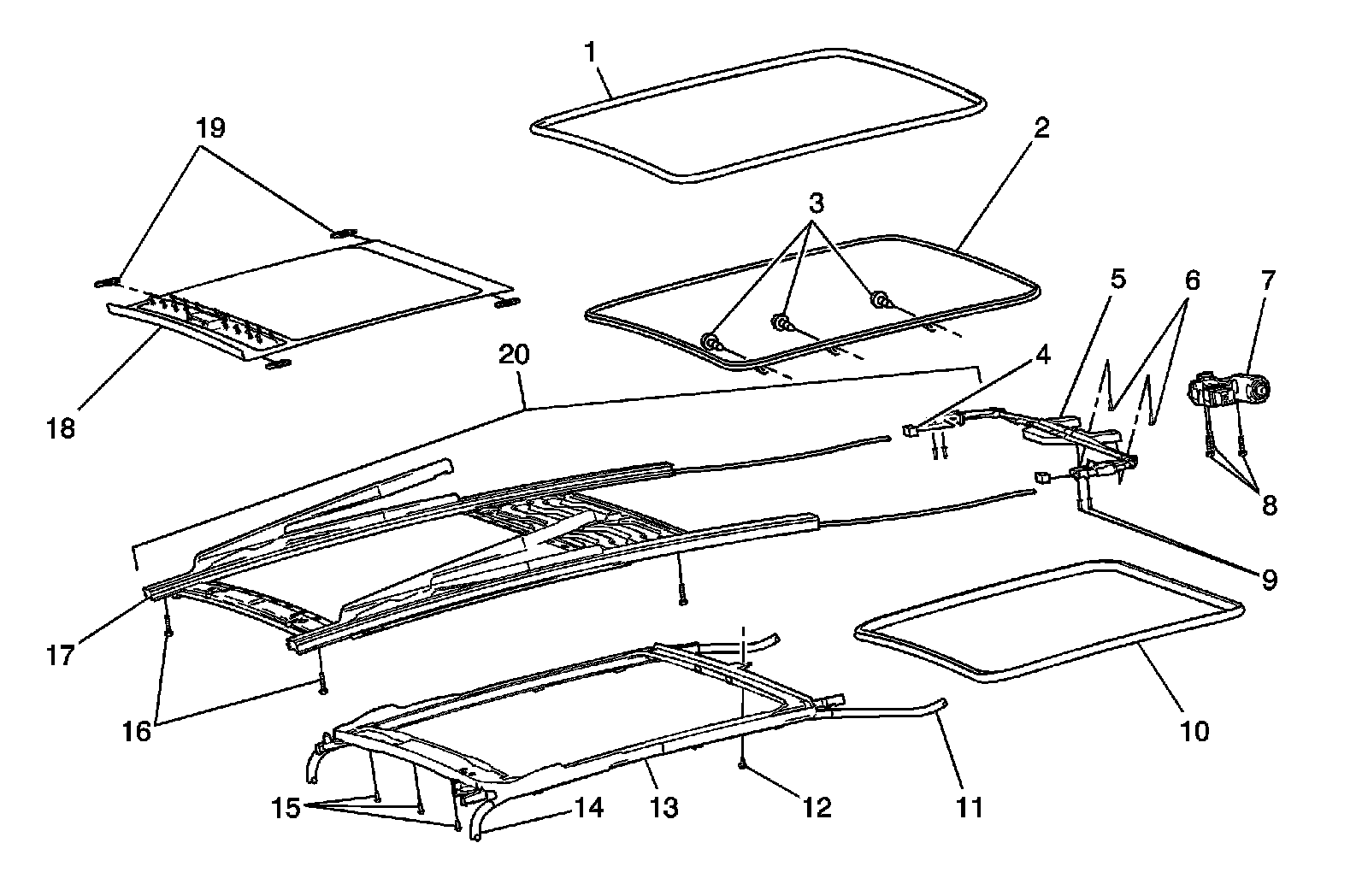
Sunroof Disassembled View



Sunroof Disassembled View




1 - Sunroof Window Seal
2 - Sunroof Window
3 - Sunroof Window Screws
4 - Sunroof Sunshade Stop
5 - Sunroof Cable Drive Tube
6 - Sunroof Motor/Actuator Base Screws
7 - Sunroof Motor/Actuator
8 - Sunroof Motor/Actuator Bolts
9 - Sunroof Cable Drive Tube Rivets
10 - Sunroof Finishing Lace
11 - Sunroof Drain Hose Rear
12 - Sunroof Water Gutter Fasteners
13 - Sunroof Water Gutter
14 - Sunroof Drain Hose Front
15 - Sunroof Water Gutter Screws
16 - Sunroof Module Assembly Bolts
17 - Sunroof Window Track Assembly
18 - Sunroof Sunshade Panel
19 - Sunroof Sunshade Guides
20 - Sunroof Module Assembly