Curiosii for ever!: Car repair manuals for everyone.

Fuse Block - Underhood



Electrical Center Identification Views

Fuse Block - Underhood Top View






Fuse Block - Underhood Bottom View






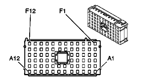
Fuse Block - Underhood X1










Fuse Block - Underhood X1 (Pin A1 To F9):





Fuse Block - Underhood X1 (Pin F10 To F12):






Fuse Block - Underhood X2














Fuse Block - Underhood X3














Fuse Block - Underhood X4














Fuse Block - Underhood X5














Fuse Block - Underhood X6














Fuse Block - Underhood X7 (L61+NU6)