Curiosii for ever!: Car repair manuals for everyone.

Cooling System Component Views (Notchback)



Cooling System Component Views (Notchback)

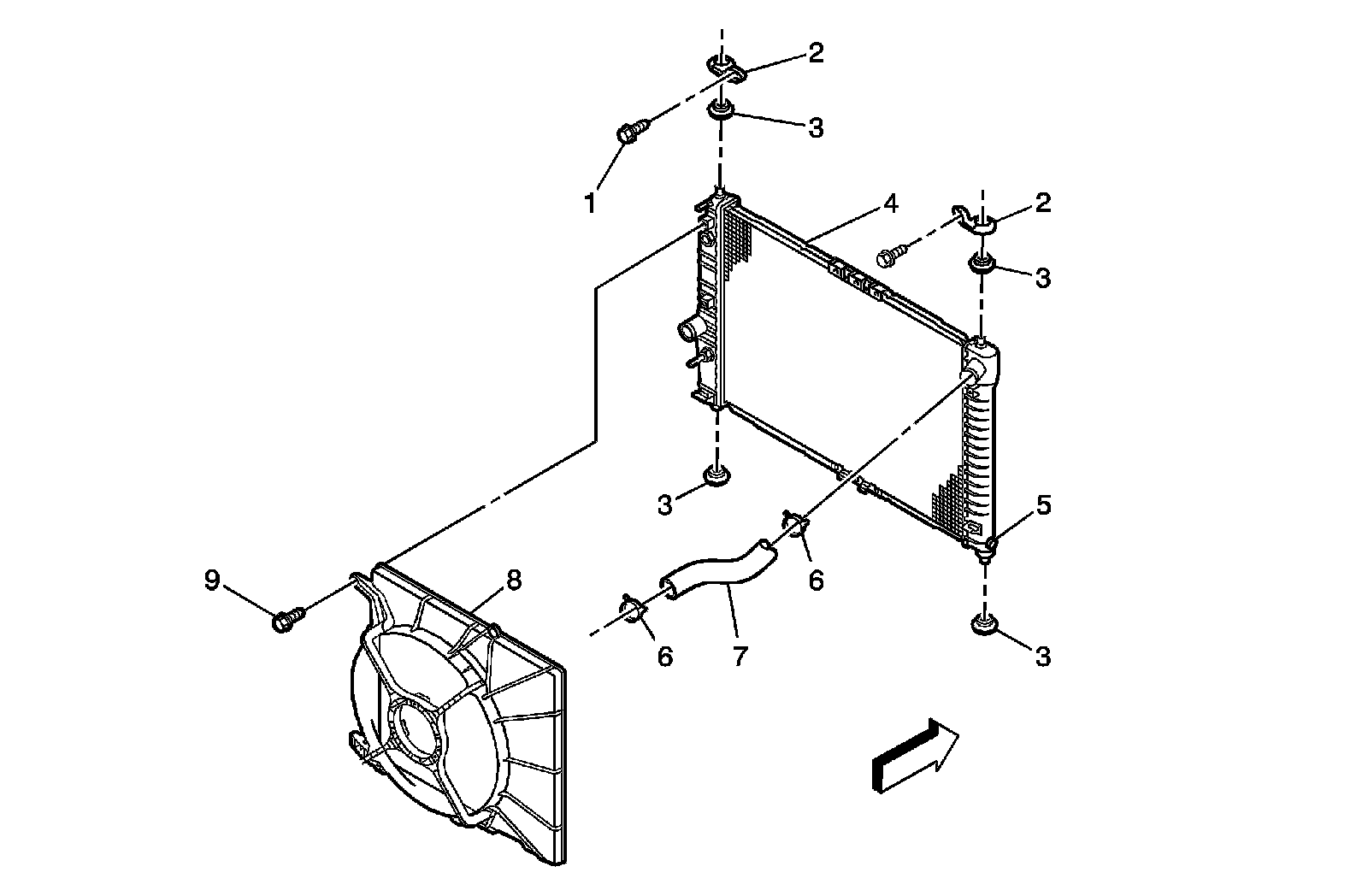
Radiator/Fan

Radiator/Fan (Single):




1 - Bolt
2 - Radiator Bracket
3 - Radiator Bumper
4 - Radiator
5 - Drain Cock
6 - Spring Clamp
7 - Upper Radiator Hose
8 - Cooling Fan
9 - Bolt