Curiosii for ever!: Car repair manuals for everyone.

Clutch Assembly



Automatic Transmission Components

Direct Clutch

Direct Clutch:





1 - Seal Ring
2 - Input Shaft Sub-Assembly
3 - O-Ring
4 - Piston
5 - O-Ring
6 - Return Spring
7 - Snap Ring
8 - Plate
9 - Disc
10 - Flange
11 - Snap Ring

Planetary Ring Gear

Planetary Ring Gear:





1 - Snap Ring
2 - Planetary Ring Gear Flange
3 - Planetary Ring Gear

One-Way Clutch

One-Way Clutch:





1 - Snap Ring
2 - One-Way Clutch
3 - Second Brake Hub
4 - Retainer

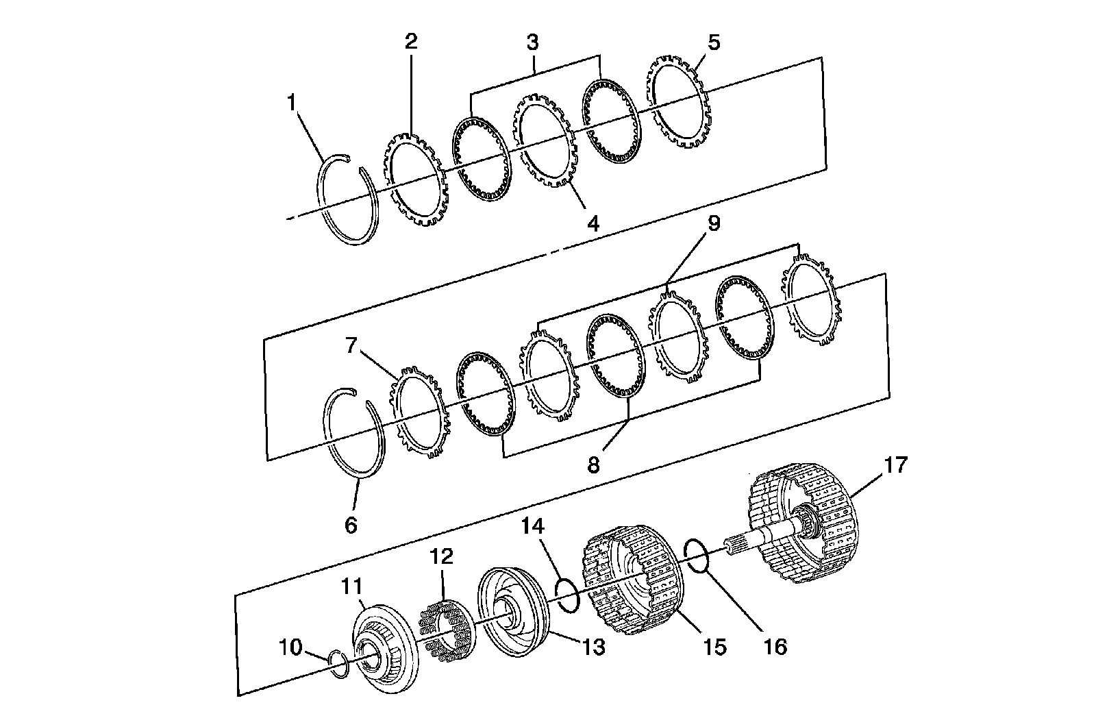
Forward and Reverse Clutch

Forward and Reverse Clutch:





1 - Seal Ring
2 - Flange
3 - Disc
4 - Plate
5 - Flange
6 - Snap Ring
7 - Flange
8 - Disc
9 - Plate
10 - Snap Ring
11 - Clutch Balancer
12 - Forward Clutch Return Spring
13 - Forward Clutch Piston
14 - O-Ring
15 - Forward Clutch Drum
16 - O-Ring
17 - Intermediate Shaft Sub-Assembly

Counter Driven Gear

Counter Driven Gear:





1 - Outer Tapered Roller Bearing Race
2 - Tapered Roller Bearing
3 - Counter Drive Pinion
4 - Counter Driven Gear
5 - Tapered Roller Bearing
6 - Outer Tapered Roller Bearing Race