Curiosii for ever!: Car repair manuals for everyone.

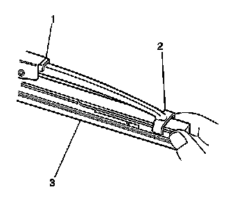
Wiper Blade Element Replacement



WIPER BLADE ELEMENT REPLACEMENT

REMOVAL PROCEDURE




1. Straighten the left wiper tabs (2) until the windshield wiper element can slide freely.
2. Slide the wiper element (3) out through the windshield wiper blade (1).

INSTALLATION PROCEDURE




1. Slide the windshield wiper element (3) completely through the windshield wiper blade (1).
2. Bend down the wiper tabs (2) to secure the wiper element in position.