Curiosii for ever!: Car repair manuals for everyone.

Seat Position Sensor: Service and Repair



Inflatable Restraint Seat Position Sensor Replacement

Removal Procedure

1. Remove the LH front seat.




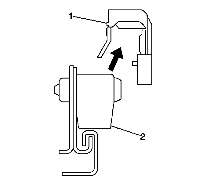
2. Remove the seat position sensor cover (1).
3. Remove the seat position sensor electrical connector.




4. Remove the seat position sensor fastener (1).
5. Remove the seat position sensor (2).

Installation Procedure




1. Install the seat position sensor (2).
2. Install the seat position sensor fastener (1).




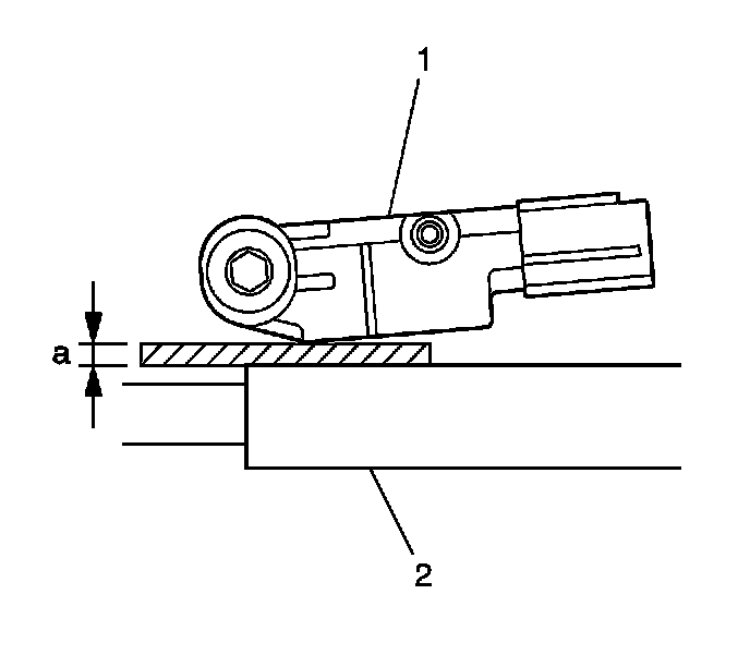
3. Insert a 1 mm (0.039 in) feeler gage between the seat position sensor (1) and seat rail (2).






Notice: Refer to Fastener Notice.

4. Tighten the seat position sensor fastener (1).

Tighten the seat position sensor fastener to 8 N.m (71 lb in).




5. Check that the clearance between the seat position sensor (1) and seat rail (2) is 0.6 mm (0.023 in) to 2 mm (0.079 in).
6. Install the seat position sensor electrical connector.




7. Install the seat position sensor cover (1).
8. Install the LH front seat.