Curiosii for ever!: Car repair manuals for everyone.

SIR Identification Views



SIR Identification Views

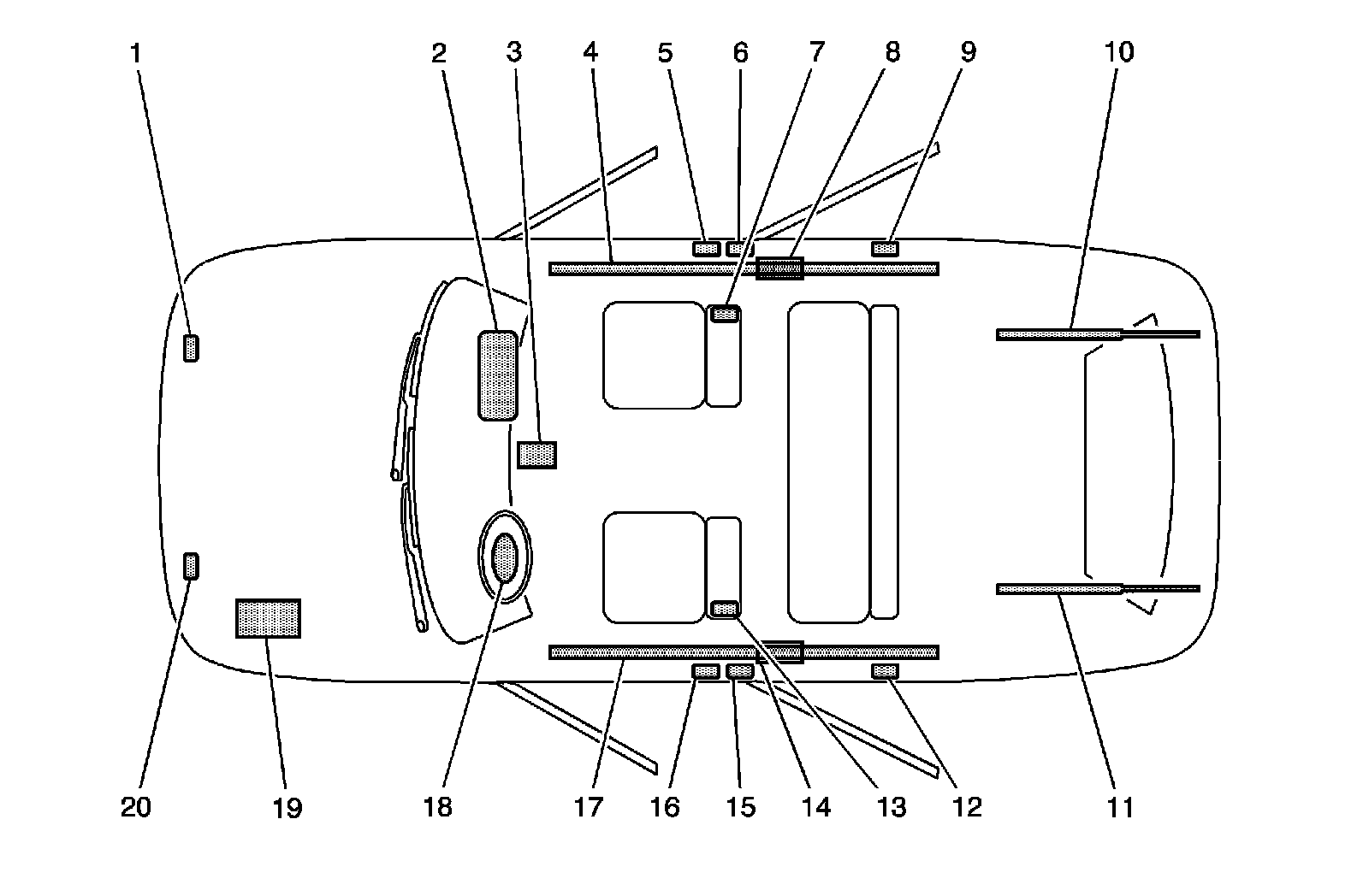
The SIR Identification Views shown below illustrate the approximate location of all SIR components available for the vehicle. This will assist in determining the appropriate SIR Disabling and Enabling for a given service procedure, refer to SIR Disabling and Enabling.

Pontiac Vibe




1 - Right Front End Sensor-Located on the right front of the vehicle in the engine compartment
2 - I/P Air Bag-Located at the top right under the instrument panel
3 - Sensing and Diagnostic Module (SDM)-Located underneath the center console
4 - Right Roof Rail Air Bag-Located under the headliner. extending from the passenger front windshield pillar to the passenger rear windshield pillar
5 - Seat Belt Pretensioner-Located under the center pillar trim near the bottom
6 - RH Front Side Impact Sensor (SIS)-Located under the center pillar trim near the bottom
7 - RF Side Impact Air Bag-Located on the seat back of passenger seat
8 - Right Roof Rail Air Bag Inflator Module-Located under the headliner, at the top of the center pillar
9 - RH Rear Side Impact Sensor (SIS)-Located behind the RH rear seat, near the wheelwell
10 - Rear Compartment Lid Assist Rod-A gas shock is located under the rear trunk lid on the passenger side
11 - Rear Compartment Lid Assist Rod-A gas shock is located under the rear trunk lid on the driver side
12 - LH Rear Side Impact Sensor (SIS)-Located behind the LH rear seat, near the wheelwell
13 - LF Side Impact Air Bag-Located on the seat back of driver seat
14 - Left Roof Rail Air Bag Inflator Module-Located under the headliner, at the top of the center pillar
15 - LH Front Side Impact Sensor (SIS)-Located under the center pillar trim near the bottom
16 - Seat Belt Pretensioner-Located under the center pillar trim near the bottom
17 - Right Roof Rail Air Bag-Located under the headliner. extending from the passenger front windshield pillar to the passenger rear windshield pillar
18 - Steering Wheel Air Bag-Located on the steering wheel
19 - Vehicle Battery-Located under the hood on the right side
20 - Left Front End Sensor-Located on the left front of the vehicle in the engine compartment