Curiosii for ever!: Car repair manuals for everyone.

Fuel System Description 2



Fuel Feed Pipes And Hoses

CAUTION: In order to Reduce the Risk of Fire and Personal Injury:

- If nylon fuel pipes are nicked, scratched or damaged during installation, Do Not attempt to repair the sections of the nylon fuel pipes. Replace them.
- When installing new fuel pipes, Do Not hammer directly on the fuel harness body clips as it may damage the nylon pipes resulting in a possible fuel leak.
- Always cover nylon vapor pipes with a wet towel before using a torch near them. Also, never expose the vehicle to temperatures higher than 115 °C (239 °F) for more than one hour, or more than 90 °C (194 °F)
for any extended period.
- Before connecting fuel pipe fittings, always apply a few drops of clean engine oil to the male pipe ends. This will ensure proper reconnection and prevent a possible fuel leak. (During normal operation, the O-rings located in the female connector will swell and may prevent proper reconnection if not lubricated.)

The fuel feed and return pipes and hoses carry the fuel from the fuel tank to the fuel injectors. These pipes and hoses are attached to the underbody of the vehicle and should be inspected periodically for kinks or dents that could restrict the fuel flow.

FUEL VAPOR PIPES AND HOSES
The fuel vapor pipe and hoses carry the fuel vapors from the fuel tank to the evaporative emission (EVAP) canister located at the rear of the vehicle, ahead of the fuel tank. The fuel vapors are stored in the canister when the engine is not running. When the engine is running at the normal operating temperature and the accelerator pedal is depressed, the powertrain control module (PCM) will command the EVAP canister purge valve to open and allow the stored fuel vapors to be purged into the intake manifold where the vapors will be burned in the combustion process.

ON-BOARD REFUELING VAPOR RECOVERY SYSTEM (ORVR)




The on-board refueling vapor recovery (ORVR) system is an on-board vehicle system designed to recover fuel vapors during the vehicle refueling operation. Instead of allowing fuel vapors to escape to the atmosphere, the ORVR system transports the vapor to the evaporative emission (EVAP) canister for use by the engine. The flow of liquid fuel down the fuel filler neck provides a liquid seal that prevents fuel vapor from leaving the fuel system. The ORVR system architecture varies from platform to platform. Some of the items listed below are optional depending on the platform application. The following is a list of all the ORVR system components with a brief description of their operation:
- The EVAP canister (1)-The EVAP canister receives and stores refueling vapor from the fuel system. The EVAP canister releases the fuel vapor to the engine through the EVAP control system.
- The vapor lines (2)-The vapor lines transport fuel vapor from the fuel tank assembly to the EVAP canister.
- The vapor recirculation line (3), if equipped-The vapor recirculation line transports fuel vapor from the fuel tank to the top of the fuel filler pipe during refueling in order to reduce the fuel vapor at the canister. The vapor recirculation line can be located inside the fuel filler pipe or outside of the fuel filler pipe.
- The variable orifice valve (4), if equipped-The variable orifice valve regulates the amount of vapor allowed to enter the vapor recirculation line.
- The fuel filler pipe (5)-The fuel filler pipe carries fuel from the fuel dispensing nozzle to the fuel tank.
- The check valve (6)-The check valve limits fuel spitback from the fuel tank during the refueling operation by allowing fuel flow only into the fuel tank. The check valve is located at the bottom of the fuel filler pipe or in the fuel tank filler neck.
- The fuel sender assembly (7)-The fuel sender assembly pumps fuel to the engine from the fuel tank.
- The fill limiter vent valve (8)-The fill limiter vent valve is typically located in the fuel tank and acts as a shut-off valve. The fill limiter vent valve performs the following functions:
- Controls the fuel tank fill level by closing the primary vent of the fuel tank.
- Prevents liquid fuel from exiting the fuel tank through the vapor line and entering the EVAP canister.
- Provides fuel-spillage protection in the event of a vehicle rollover by closing the vapor path from the tank to the EVAP canister.
- The pressure/vacuum relief valve (9), if equipped-The pressure/vacuum relief valve provides venting of excessive fuel tank pressure or vacuum. The pressure/vacuum relief valve is located in the fuel filler neck on a plastic fuel tank and in the fill limiter vent valve on a steel fuel tank.

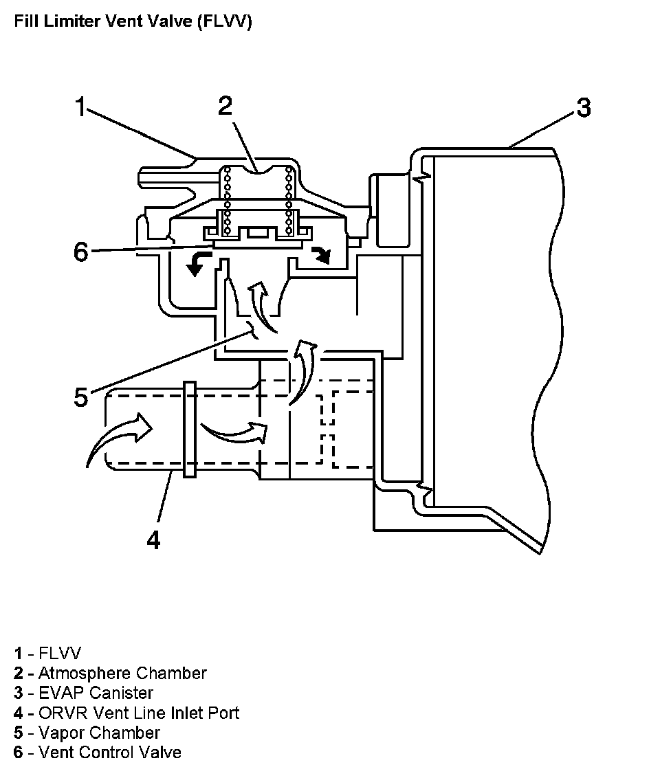
FILL LIMITER VENT VALVE (FLVV)

Fill Limiter Vent Valve (FLVV):





The fill limiter vent valve (FLVV) (1) is an integral part of the EVAP canister (3). The cross sectional view shows the path of fuel vapors passing through the valve directly into the EVAP canister. When the fuel filler cap is removed during refueling, the atmosphere chamber (2) fills with atmospheric pressure that has entered through the port from the fuel filler pipe. The pressure in the atmosphere chamber (2) opens the passage to the vapor chamber (5) by opening the vent control valve (6). Refueling causes the internal pressure in the fuel tank to increase, pushing fuel vapors into the ORVR port (4) and up through the vent control valve (6) into the EVAP canister (3). When the fuel tank is full, the tank vapor control valve (5) closes, sealing off the passage into the EVAP canister.

ACCELERATOR CONTROLS
An electronic throttle control (ETC) system or throttle actuator control (TAC) system is used to control the throttle valve opening. The accelerator pedal receives input from the driver and the accelerator pedal position (APP) sensors send this information to the PCM. The PCM commands the desired throttle valve opening to the TAC motor on the throttle body. For additional information on the operation of this system, refer to Throttle Actuator Control (TAC) System Description.

FUEL METERING SYSTEM
The function of the fuel metering system is deliver the correct amount of fuel to the engine under all operating conditions. Fuel is delivered to each cylinder by the fuel injectors. The fuel injectors are controlled sequentially by the powertrain control module (PCM). The PCM bases the control of the fuel injectors on several important engine parameters. These engine parameters include the following:
- Engine speed (RPM)
- Mass air flow (MAF)
- Engine coolant temperature (ECT)
- Intake air temperature (IAT)
- Throttle position (TP)
- Fuel control oxygen sensor input (HO2S 1)

Determining air density is critical to proper air/fuel management. Air density is primarily derived from the MAF sensor input. The MAF sensor measures the air volume and determines the air density. Larger volumes of air and denser air masses require additional fuel. The information from the MAF sensor is used by the PCM in order to modify the fuel injector pulse width.

FUEL INJECTOR




The fuel injector is an electromagnetic (solenoid) type injection nozzle which injects fuel into the intake port of the cylinder head according to the signals from the powertrain control module (PCM). There are 4 fuel injectors, one for each cylinder, located between the intake manifold and the fuel rail.

The PCM energizes the solenoid coil of the fuel injector, generating an electromagnet field that attracts the solenoid plunger. The needle valve, which is incorporated with the solenoid plunger, is opened by the movement of the solenoid plunger. The opening of the needle valve allows fuel that is under pressure to disperse through a 12-hole plate into a cone shaped pattern. Because the stroke of the needle valve in the fuel injector is set constant, the amount of fuel injected at one time is determined by the pulse width injection time, the length of time the solenoid coil is energized.

FUEL INJECTION OPERATION
The powertrain control module (PCM) controls the amount of fuel the fuel injector supplies to each cylinder by controlling the ON time, or length of pulse, of each individual injector. The delivery timing of the fuel into the cylinder head intake port by the fuel injector is controlled by the PCM. The timing and pulse of the fuel injectors is carefully calculated with inputs from the various sensors so that a suitable air/fuel mixture is supplied to the engine for every driving condition.

There are 2 types of injection timing. One is synchronous injection, when fuel injection is synchronous with the ignition signal or the signal from the camshaft position (CMP) sensor. The other is asynchronous injection, when fuel injection takes place independently of the ignition signal or the signal from the CMP sensor.

The PCM first calculates the correct timing of the fuel injectors by factoring the engine speed and the air volume together. Then the PCM applies certain compensations that are based on the information provided by various sensors which detect the state of the engine and the current driving conditions.

SYNCHRONOUS INJECTION
When starting the engine, the fuel injectors inject the fuel simultaneously and synchronously at every camshaft position (CMP) sensor signal. When the engine is starting at a cold state, the amount of fuel is determined by the engine coolant temperature (ECT) sensor and is divided and injected.

Once the engine is running, the fuel injection occurs in a cylinder only when the cylinder is in the exhaust stroke. The powertrain control module (PCM) detects the compression stroke of cylinder 1 through the CMP sensor signal.

ASYNCHRONOUS INJECTION
Whenever a change in the throttle valve opening exceeds a specified value, as determined by the powertrain control module (PCM), additional fuel is injected simultaneously into the cylinders which are in the intake and exhaust strokes. This is in addition to the above synchronous injection and is not based on the ignition signal.

ENGINE STARTING ENRICHMENT
In order to improve starting performance, fuel enrichment during start up is carried out. For a certain time after the engine is started, the air/fuel mixture is enriched slightly in order to stabilize the engine speed. The amount of compensation varies depending on the engine coolant temperature as measured by the engine coolant temperature (ECT) sensor.

ENGINE WARM-UP ENRICHMENT
When the engine is cold, additional fuel is added in order to ensure good driveability. The level of enrichment of the air/fuel mixture is gradually decreased until the engine coolant temperature (ECT) sensor reaches a specified value.

ACCELERATION ENRICHMENT
During acceleration, the pulse of the fuel injectors is lengthened in order to deliver more fuel. The additional fuel required is relative to the engine coolant temperature. Acceleration Enrichment ensures smooth and reliable engine acceleration.

POWER ENRICHMENT
In order to provide maximum power during high engine load driving conditions, the air/fuel mixture is enriched when the throttle valve opening is more than a specified, powertrain control module (PCM) determined value.

SYSTEM VOLTAGE COMPENSATION
A power supply system voltage drop will delay the mechanical operation of the fuel injector. The actual injector ON time becomes shorter when the system voltage decreases. In order to compensate for this, the fuel injector pulse width signal is lengthened.

CRANK SIGNAL
The crank signal is sent from the starter motor circuit. When the starter motor circuit is energized as the ignition switch is in the START position, a crank signal is supplied to the powertrain control module (PCM). The PCM increases the fuel injector pulse when receiving a voltage on the crank signal circuit. The slight increase in fuel provides quicker and smoother engine start-up. The crank signal is also used as an input for running certain engine control system diagnostics, such as the crankshaft position (CKP) sensor DTC P0335. The crank signal input can be monitored on a scan tool as the Starter Switch parameter.

BASE AIR/FUEL RATIO COMPENSATION
The base air/fuel ratio may vary due to differences in individual engines and mileage. In order to compensate for such variations, feedback information is used to adjust the base air/fuel mixture to maintain the optimum air/fuel ratio.

FUEL CUTOFF
Fuel cutoff occurs when the powertrain control module (PCM) stops fuel injection or turns OFF the fuel pump. Fuel cutoff is used during the following conditions:
- During deceleration, when the throttle valve is closed and engine speed is high, fuel injection is stopped so that unburned gas will not be exhausted. Fuel injection starts again when the engine speed decreases to less than 1,200 RPM.
- In order to prevent engine overrun, which adversely affects the engine, fuel injector delivery stops when the engine speed exceeds 6,800 RPM. Fuel delivery starts again when the engine speed decreases to less than 6,500 RPM.
- In order to minimize any possible fuel spillage during an air bag deployment event, the fuel pump is de-energized. The PCM receives a signal from the supplemental inflatable restraint (SIR) system and turns OFF the fuel pump relay. The relay is re-energized once the ignition switch is cycled OFF and then ON again.

AIR/FUEL RATIO FEEDBACK COMPENSATION - CLOSED LOOP OPERATION

Closed Loop Fuel Control Operation:




In order to obtain the most efficient engine performance with a good balance of power and fuel economy, the air/fuel mixture must be kept as close to the theoretical air/fuel ratio of 14.7:1 as possible. Maintaining the 14.7:1 air/fuel ratio also provides efficient operation of the 3-way catalytic converter (TWC) and a high clarification rate of carbon monoxide (CO), hydrocarbons (HC), and nitrogen oxides (NOx) in the exhaust gas stream, In order to accomplish this, the powertrain control module (PCM) first compares the input voltage from the heated oxygen sensor 1 (HO2S 1) with a specified reference voltage.

The HO2S 1 sensor is a wide band or wide range design. As with all oxygen sensors, the wide band HO2S measures the amount of oxygen in the exhaust system, but provides more information than the typical switching style HO2S. The wide band sensor consists of an oxygen sensing cell, an oxygen pumping cell, and a heater. The exhaust gas sample passes through a diffusion gap between the sensing cell and the pumping cell. The PCM supplies a voltage to the HO2S and uses this voltage as a reference to the amount of oxygen in the exhaust system. An electronic circuit within the PCM controls the pump current through the oxygen pumping cell in order to maintain a constant voltage in the oxygen sensing cell. The PCM monitors the voltage variation in the sensing cell and attempts to keep the voltage constant by increasing or decreasing the amount of current flow, or oxygen ion flow, to the pumping cell. By measuring the amount of current required to maintain the voltage in the sensing cell, the PCM can determine the concentration of oxygen in the exhaust. The HO2S input signal is displayed as a voltage within the range of 1-5 volts, with a steady value of 3.2-3.3 volts equal to the air fuel ratio of 14.7:1. If the HO2S 1 input voltage is lower than the specified reference voltage, the PCM determines that the air/fuel ratio is richer than the theoretical air/fuel ratio and reduces the fuel. If the input voltage from the HO2S 1 is higher than the specified reference voltage, the PCM determines that the air/fuel ratio is leaner and increases the fuel. By repeating these operations, the PCM can adjust the air/fuel ratio in order to be closer to the theoretical air/fuel ratio. Control of the fuel delivery system as just described is known as Closed Loop operation.

The Closed Loop fuel control operation will not take place under any of the following conditions:
- At engine start up
- When the fuel injection is increased just after engine start up
- When the engine coolant temperature (ECT) sensor is indicating a low coolant temperature
- When the engine is operating under a high demand, such as at wide open throttle (WOT)
- During fuel cutoff
- When the HO2S 1 is cold-Open Loop operation

Control of the air supply that is mixed with the metered fuel is detailed in the description of the throttle actuator control (TAC) system and the air intake system. Refer to Air Intake System Description.