Curiosii for ever!: Car repair manuals for everyone.

Blower Motor Resistor: Service and Repair



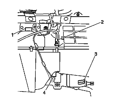
Blower Motor Resistor Replacement

Removal Procedure

1. Remove the instrument panel compartment.




2. Disconnect the blower motor resistor electrical connector.
3. Remove the 2 screws and the blower motor resistor (4) from the blower case.

Installation Procedure




1. Install the blower motor resistor (4) to the blower case. Secure with the 2 screws.
2. Connect the blower motor resistor electrical connector.
3. Install the I/P compartment.