Curiosii for ever!
: Car repair manuals for everyone.
Home
>>
Pontiac
>>
2007
>>
Solstice L4-2.0L Turbo
>>
Repair and Diagnosis
>>
Body and Frame
>>
Mirrors
>>
Power Mirror Motor
>>
Service and Repair
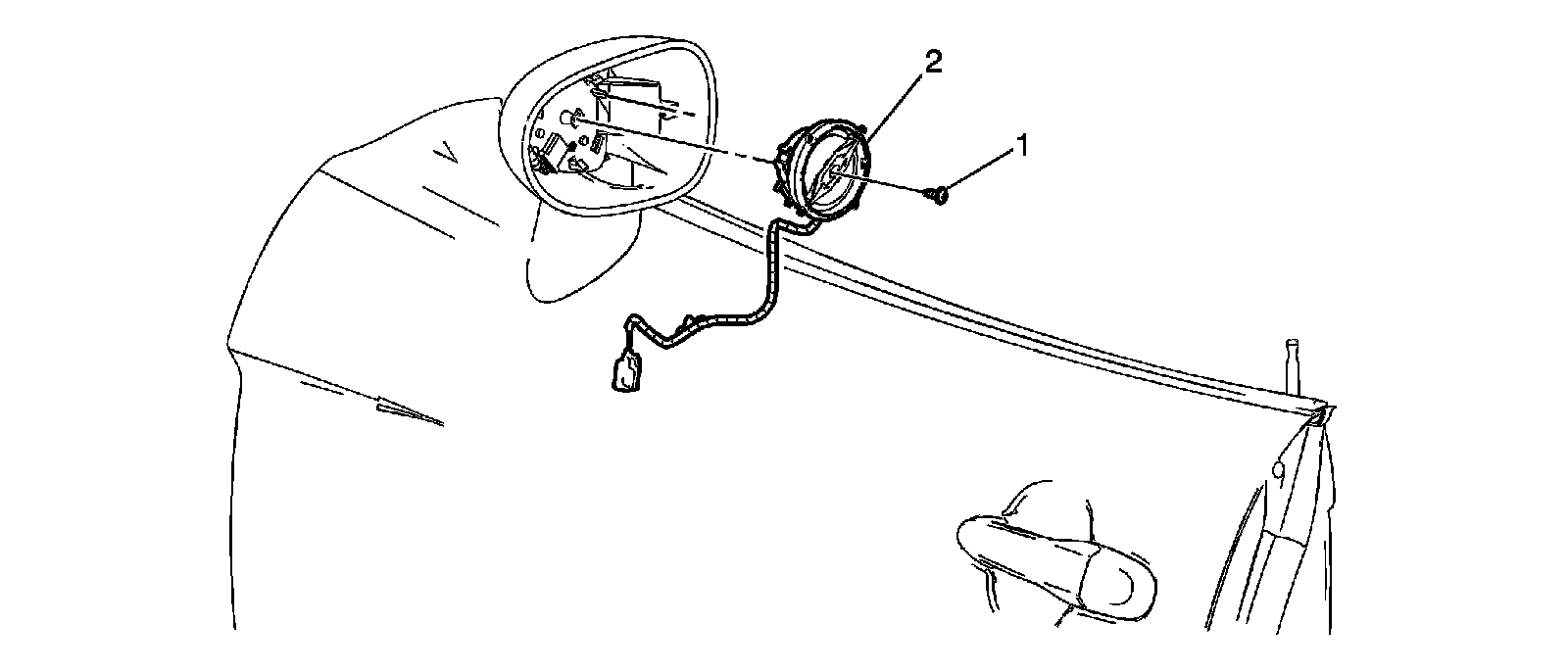
Power Mirror Motor: Service and Repair
Outside Rearview Mirror Motor Replacement