Curiosii for ever!
: Car repair manuals for everyone.
Home
>>
Pontiac
>>
2007
>>
Grand Prix V6-3.8L
>>
Repair and Diagnosis
>>
Lighting and Horns
>>
Locations
>>
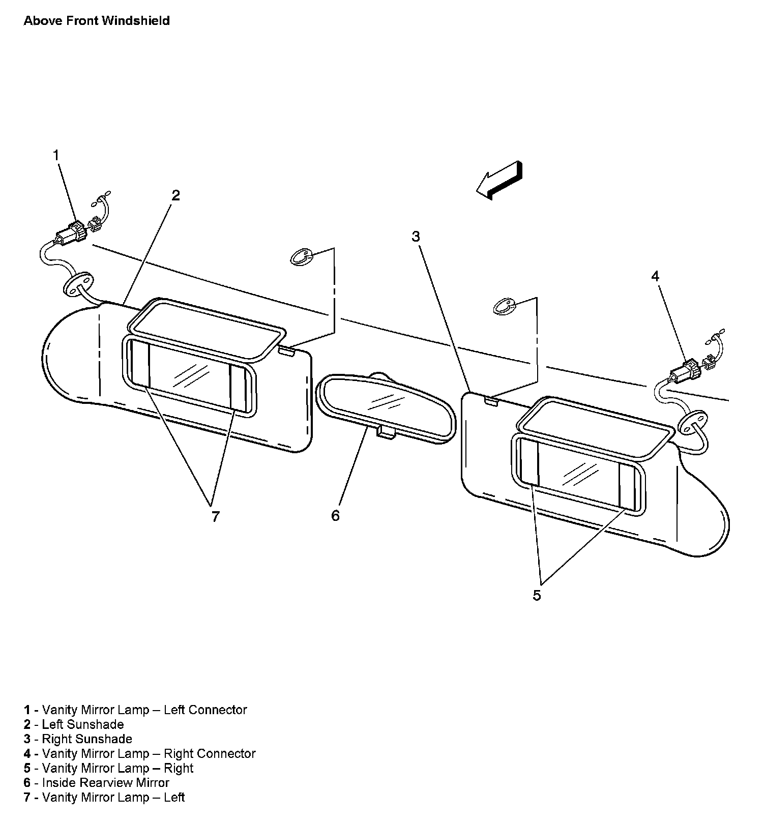
Above Front Windshield
Above Front Windshield
Above Front Windshield: