Curiosii for ever!: Car repair manuals for everyone.

Valve Spring: Service and Repair



Valve Stem Oil Seal and Valve Spring Replacement

Tools Required

* J 23590 Spark Plug Port Adapter
* J 38606 Valve Spring Compressor
* J 42863 Valve Stem Seal Installation Tool

Removal Procedure

1. Remove the left or the right valve rocker arm cover.

Important: Rotate the engine so that the piston in the cylinder being worked on is at top dead center before removing the valve locks. This will eliminate the possibility of the valve accidentally falling inside the cylinder.

2. Remove the valve rocker arms and the push rods.
3. Remove the spark plug.




4. Install the J 23590 to the spark plug port and apply compressed air in order to hold the valves closed.




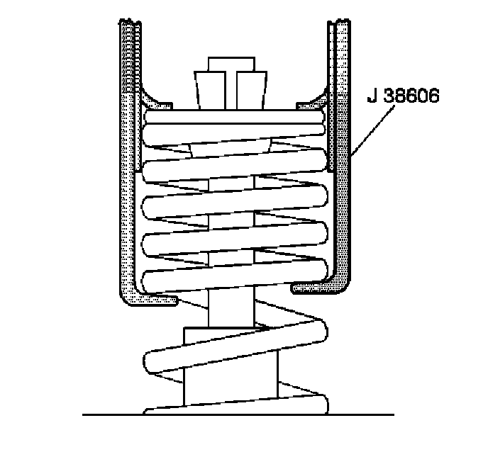
5. Install the J 38606 on the valve spring.




6. Compress the valve spring using the J 38606.
7. Remove the valve locks.
8. Remove the valve spring and cap.




9. Remove the valve stem oil seal.
10. Inspect the valve spring for bent, cracked, or broken parts. Replace the valve spring if damaged.

Installation Procedure





Important:
* Use hand pressure to install the valve stem oil seal.

* The color of the replacement seal may not be the same color as the original seal. Install the seals in their correct location based on GM part and package description. Make sure that the seal is fully seated on the valve guide.

Place the oil seal over the stem until the seal begins to contact the valve guide.
1. Use the J 42863 to install the valve stem oil seal over the valve guide.




2. Install the J 38606 on the valve spring.




3. Compress the valve spring using the J 38606.
4. Install the valve spring and cap.
5. Install the valve locks.
6. Release the valve spring.





Important: Ensure that the valve locks are seated.

7. Release the air pressure, and remove the J 23590.
8. Install the spark plug.
9. Install the push rods and the valve rocker arms.
10. Install the left or the right valve rocker arm cover.