Curiosii for ever!: Car repair manuals for everyone.

Wiper Gear Box: Service and Repair



AIR INLET GRILLE PANEL REPLACEMENT

TOOLS REQUIRED
J 38778 Door Trim Pad and Garnish Clip Remover

REMOVAL PROCEDURE




1. Open the hood.
2. Remove the hood rear seal.
3. Remove the wiper arms.
4. Remove the windshield washer hose from the air inlet grille.




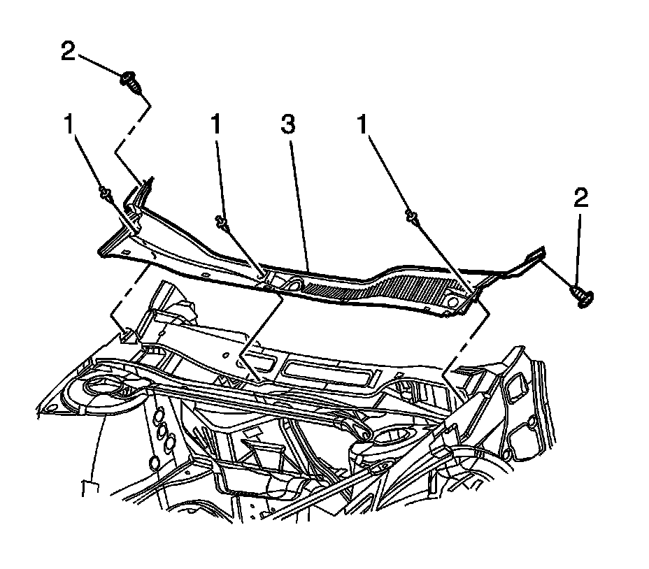
5. the push-in retainers (1) from the air inlet grille.
6. Use the J 38778 to remove the push-in retainers (2) from the sides of the air inlet grille.
7. Remove the air inlet grille (3) from the vehicle.

INSTALLATION PROCEDURE
1. Position the air inlet grille (3) to the vehicle.




2. Install the push-in retainers (2) to the sides of the air inlet grille.
3. Install the push-in retainers (1) to the air inlet grille.




4. Install the windshield washer hose to the air inlet grille.
5. Install the wiper arms.
6. Install the hood rear seal.
7. Close the hood.