Air Cleaner Housing: Service and Repair
Air Cleaner Assembly Replacement
Removal Procedure
1. Remove the left inner fender brace.
2. Remove the air cleaner intake duct.
3. Remove the air cleaner housing screws (2).
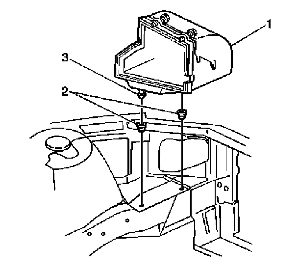
4. Remove the air cleaner housing cover (1) from the air cleaner housing.
5. Without disconnecting the powertrain control module (PCM) connectors, remove the PCM and the harness from the air cleaner housing.
6. Remove the air cleaner housing (1) by pulling the housing from the 2 rubber grommets (2) in the engine compartment.
7. Inspect the air cleaner housing assembly for signs of damage and replace if necessary.
Installation Procedure
1. Install the air cleaner housing by pushing the housing (1) into the 2 rubber grommets (2) in the engine compartment.
2. Install the PCM and the harness into the air cleaner housing (3).
3. Install the air cleaner housing cover assembly (1).
Notice: Refer to Fastener Notice in Service Precautions.
4. Install the air cleaner housing screws (2).
Tighten the screws to 3 N.m (27 lb in).
5. Install the air cleaner intake duct.
6. Install the left inner fender brace.