Curiosii for ever!: Car repair manuals for everyone.

Engine Support Fixture



Engine Support Fixture

Installation Procedure

Tools Required
* J 28467-B Universal Engine Support Fixture
* J 42451-1 Engine Support Adapter
* J 28467-500 Engine Support Fixture

1. Remove the fuel injector sight shield.
2. Remove the air cleaner assembly.
3. Remove the air cleaner outlet duct.
4. Remove the engine mount bracket.




5. Install the engine mount bracket with the engine support bracket J-42451-1 to the engine.




6. Remove engine harness clip from the holding stud.




7. Remove engine harness clamp, then position harness aside.




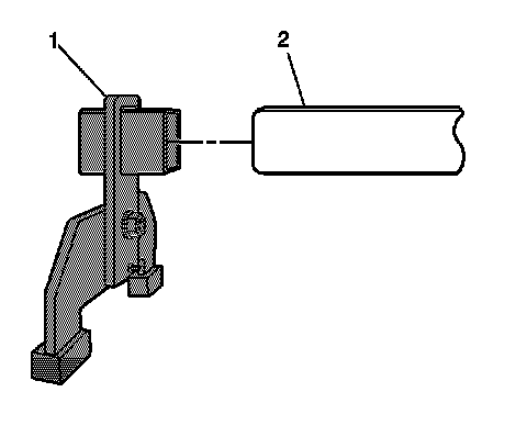
8. Install engine support bracket J-42451-1 to left cylinder head.




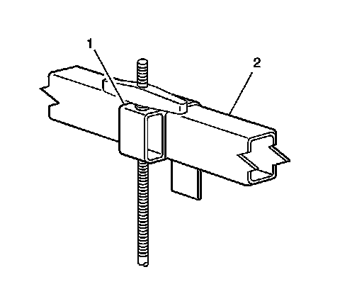
9. Install the engine support fixture legs J-28467-500A and the strut tower tube J-28467-3.




10. Install the front support assembly J-28467-4A and the radiator shelf tube J-28467-2A to the strut tower tube J-28467-3.




11. Install the cross bracket assembly J-24867-1A to secure the radiator shelf tube J-28467-2A to the strut tower tube J-28467-3.




12. Assemble the lift hook wing nut J-28467-34 and the lift hook bracket J-28467-6A to the lift hook J-28467-7A.




13. Install lift hook assembly to the strut tower tube J- 28467-3.




14. Install lift hook assembly to the left side J-42451-1.




15. Assemble the lift hook wing nut J-28467-34 and the lift hook bracket J-28467-6A to the lift hook J-28467-7A.




16. Install lift hook assembly to the strut tower tube J- 28467-3.




17. Install lift hook assembly to right side J-42451-1.
18. Tighten the J 28467-34 wing nut until all free slack is removed from the J 28467-7A lift hook.