Curiosii for ever!: Car repair manuals for everyone.

Accumulator: Service and Repair



Accumulator and 2-1 Manual Servo Replacement

Removal Procedure

1. Raise and support the vehicle. Refer to Vehicle Lifting.
2. Remove the filter. Refer to Automatic Transmission Fluid Filter and Seal Replacement.




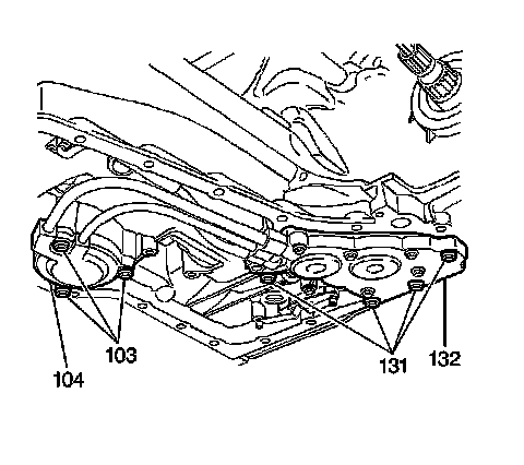
3. Remove the accumulator bolts (131).
4. Remove the manual 2-1 band servo cover bolts (103).




5. Remove the accumulator assembly.




6. Remove the manual 2-1 band servo (106-116).
7. To disassemble, inspect and service the accumulator and 2-1 manual servo. Refer to 2-1 Manual Band Servo Disassemble in Transmission Unit Repair Manual.

Installation Procedure

1. If disassembled, assemble the 2-1 band servo. Refer to 2-1 Manual Band Servo Assemble in Transmission Unit Repair Manual.




2. Install the manual 2-1 band servo (106-116).




3. Install the accumulator assembly.





Notice: Refer to Fastener Notice.

4. Install the manual 2-1 band servo cover bolts (103).

Tighten the bolts to 25 N.m (18 lb ft).

5. Install the accumulator bolts (131).

Tighten the bolts to 11 N.m (97 lb in).

Important: It is recommended that transmission adaptive pressure (TAP) information be reset.

Resetting the TAP values using a scan tool will erase all learned values in all cells. As a result, the engine control module (ECM), powertrain control module (PCM) or transmission control module (TCM) will need to relearn TAP values. Transmission performance may be affected as new TAP values are learned. Reset the TAP values. Refer to Transmission Adaptive Functions.

6. Install the filter. Refer to Automatic Transmission Fluid Filter and Seal Replacement.
7. Lower the vehicle.