Curiosii for ever!: Car repair manuals for everyone.

Park/Neutral Position Switch



Park/Neutral Position Switch

Removal Procedure





Caution: Refer to Battery Disconnect Caution in Service Precautions.

1. Remove the battery.
2. Remove the 4 battery tray retaining bolts, then remove the battery tray from the vehicle.
3. Remove the shift cable retaining clip, then disconnect the cable from the bracket.
4. Remove the shift cable retaining nut, then disconnect the cable from the manual lever.





5. Disconnect the PNP switch electrical connector (1) from the PNP switch.





6. Remove 1 nut, 1 lock washer and the manual lever from the manual shaft.
7. Unstake the lock plate (1) behind the manual shaft nut (3).
8. Remove the manual shaft nut and the lock plate from the PNP switch.
9. Remove the 2 bolts and the PNP switch from the transaxle.

Installation Procedure
1. Install the PNP switch to the transaxle. Secure with 2 bolts. Do NOT tighten fully.





Notice: Refer to Fastener Notice in Service Precautions.

2. Install a new lock plate (1) and the manual shaft nut (3) onto the PNP switch.
^ Tighten the manual shaft nut to 5.5 Nm (49 inch lbs.).

3. Temporarily install the manual lever.





4. Turn the lever counterclockwise until it stops, then turn it clockwise 2 notches.
5. Remove the manual lever.





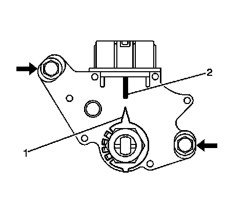
6. Align the groove (1) with the neutral base line (2).
7. Hold the switch in position, then tighten the 2 bolts.
^ Tighten the Park/Neutral Position (PNP) switch bolts to 5.5 Nm (49 inch lbs.).





8. Stake the lock plate over the manual shaft nut.
9. Install the manual lever onto the manual shaft. Secure the manual lever with 1 lock washer and nut.
^ Tighten the manual lever nut to 12.5 Nm (9 ft. lbs.).

10. Install the PNP switch electrical connector to the PNP switch.





11. Install the shift select cable and nut to the manual lever.
^ Tighten the shift cable retaining nut to 12.5 Nm (9 ft. lbs.).

12. Install the shift select cable (1) in the retaining bracket, then install the clip (3).
13. Install the battery tray in the vehicle, then the 4 battery tray retaining bolts.
^ Tighten the bolts to 13 Nm (10 ft. lbs.).

Caution: Refer to Battery Disconnect Caution in Service Precautions.

Install the battery.
14. Apply the parking brake and block the vehicle wheels.
15. With the manual selector in Park position, turn the ignition switch to START and verify that the starter motor operates.
16. Stop the engine and return the ignition switch to the ON position.
17. Move the manual selector from the Park position to the Neutral position and verify that the starter motor operates.
18. Verify that the starter motor DOES NOT operate in D, 2, L or R.