Curiosii for ever!: Car repair manuals for everyone.

Service Repair Manual



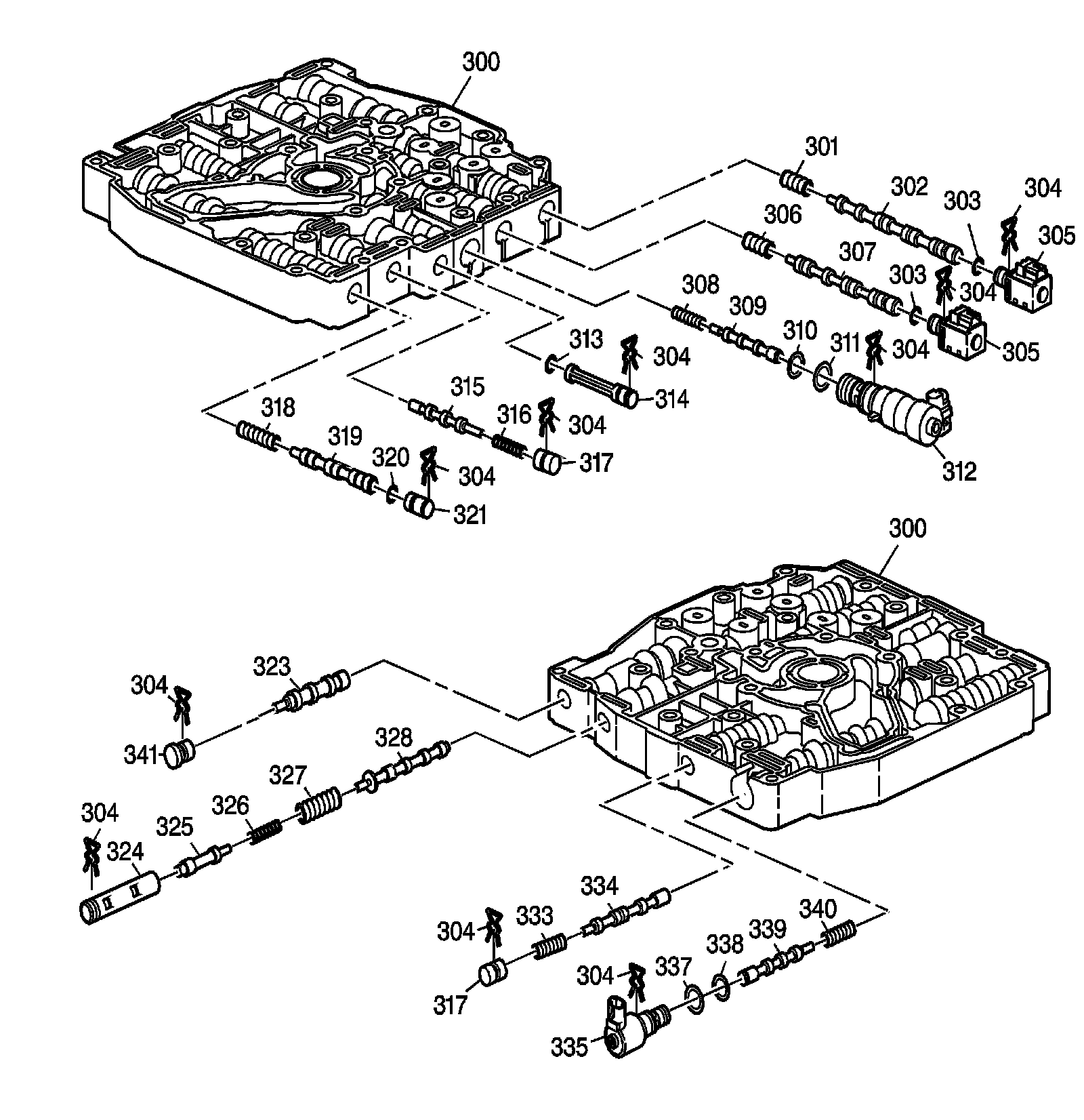
Disassembled Views

Control Valve Body Assembly:





300 - Control Valve Body Assembly
300 - Control Valve Body Assembly
301 - 1-2 Shift Valve Spring
302 - 1-2 Shift Valve
303 - Shift Solenoid O-Ring (1-2 and 2-3)
303 - Shift Solenoid O-Ring (1-2 and 2-3)
304 - Retainer Clip
304 - Retainer Clip
304 - Retainer Clip
304 - Retainer Clip
304 - Retainer Clip
304 - Retainer Clip
304 - Retainer Clip
304 - Retainer Clip
304 - Retainer Clip
304 - Retainer Clip
305 - Shift Solenoid (1-2 and 2-3)
305 - Shift Solenoid (1-2 and 2-3)
306 - 2-3 Shift Valve Spring
307 - 2-3 Shift Valve
308 - Torque Signal Regulator Valve Spring
309 - Torque Signal Regulator Valve
310 - Pressure Control Solenoid O-Ring
311 - Pressure Control Solenoid O-Ring
312 - Pressure Control Solenoid
313 - Actuator Oil Filter O-Ring
314 - Actuator Oil Filter
315 - Actuator Feed Limit Valve
316 - Actuator Feed Limit Valve Spring
317 - Bore Plug
318 - 3-4 Shift Valve Spring
319 - 3-4 Shift Valve
320 - 3-4 Shift Valve Plug O-Ring
321 - Bore Plug
323 - 1-2/3-4 Accumulator Valve
324 - Pressure Regulator Boost Valve Bushing
325 - Pressure Regulator Boost Valve
326 - Isolator Spring
327 - Pressure Regulator Valve Spring
328 - Pressure Regulator Valve
333 - TCC Control Valve Spring
334 - TCC Control Valve
335 - TCC Control PWM Solenoid
337 - TCC Control Solenoid O-Ring
338 - TCC Control Solenoid O-Ring
339 - TCC Regulated Apply Valve
340 - TCC Regulated Apply Valve Spring
341 - Bore Plug