Curiosii for ever!: Car repair manuals for everyone.

Thread Repair Specifications



Thread Repair Specifications

Engine Block - Front/Rear Views:




Engine Block:




Engine Block - Left/Right Side Views:




Engine Block:




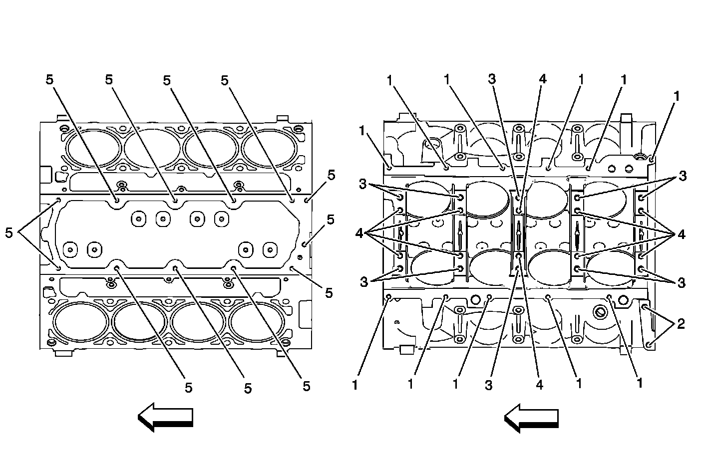
Engine Block - Top/Bottom Views:




Engine Block - Top/Bottom Views:




Engine Block:




Cylinder Head - Top/End Views:




Cylinder Head:




Cylinder Head - Intake/Exhaust Side Views:




Cylinder Head: