Curiosii for ever!: Car repair manuals for everyone.

Brake Switch (Cruise Control): Service and Repair



CRUISE RELEASE SWITCH REPLACEMENT

REMOVAL PROCEDURE




1. Disconnect the negative battery cable.
2. Remove the left closeout panel.
3. Remove the left ventilation ducts.
4. Remove the stop lamp switch.
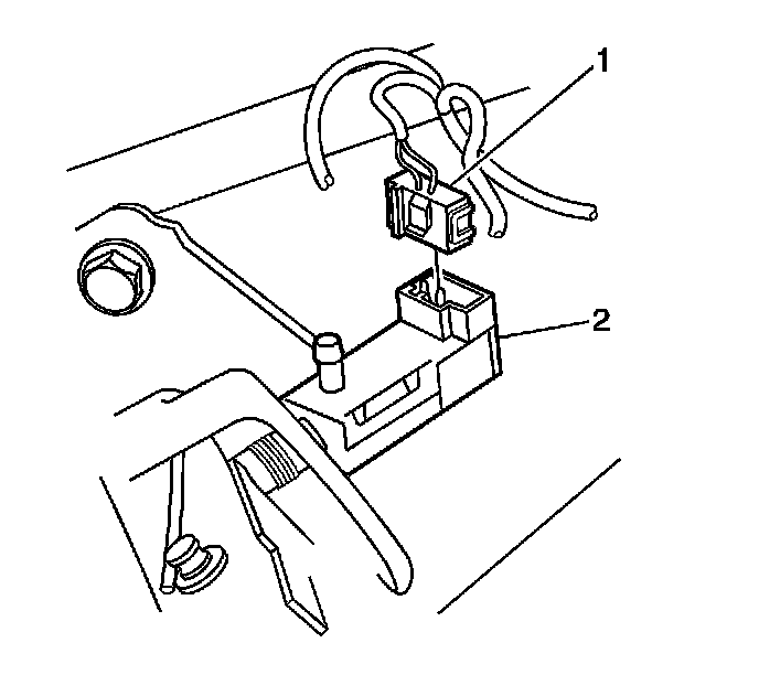
5. Press the connector locking tab while pulling on the cruise control switch electrical connector (1) and remove from the switch assembly (2).




6. Turn the cruise control release switch assembly (1) counterclockwise 90 degrees and pull out of brake pedal support.
7. If required, press the locking tabs on the rear of the cruise release switch retaining clip (2) and remove.

INSTALLATION PROCEDURE




1. If removed, install the cruise release switch retaining clip (2) with the arrow pointing upward.
2. Install the cruise release switch into the brake pedal support so the switch connectors face upwards.
3. Adjust the cruise release switch. Refer to Cruise Release Switch Adjustment.
4. Install the stop lamp switch.
5. Install the left ventilation ducts.
6. Install the left I/P lower insulator panel.
7. Connect the negative battery cable.