Curiosii for ever!: Car repair manuals for everyone.

Center Console End Panel Replacement



CENTER CONSOLE END PANEL REPLACEMENT

REMOVAL PROCEDURE




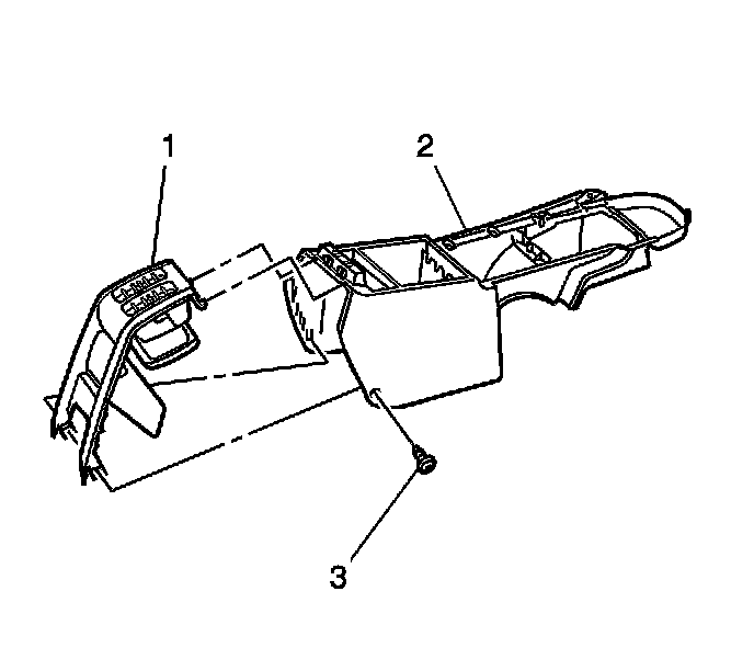
1. Remove the screws (3) from each side of the floor console (2) attaching the center console end panel (1) to the floor console (2).
2. Remove the center console end panel (1) by swinging the lower edge rearward and detaching the upper tabs.
3. Remove the console end panel storage compartment, if necessary.

INSTALLATION PROCEDURE
1. Install the console end panel storage compartment, if removed.




2. Install the center console end panel (1) to the floor console (2) making sure the upper tabs are engaged.
3. Install the screws (3) on each side of the floor console (2) attaching the center console end panel (1).

NOTE: Refer to Fastener Notice in Service Precautions.

Tighten the screws (3) to 2 N.m (18 lb in).