Curiosii for ever!: Car repair manuals for everyone.

Key and Lock Cylinder Coding





Key and Lock Cylinder Coding

Special Tools

- BO-48370 Lock Cylinder Cap Installer






Ignition Lock Cylinder

The ignition lock cylinder uses 8 of the 10 key cut positions, 1-8. The tumbler positions are staggered from side to side, four on one side and four on the other.






Warning: Wear safety glasses in order to avoid eye damage.

Note: The tumblers (3) are not self-retaining and must be held in place if the key is not fully inserted into the lock cylinder or until the cylinder (1) is assembled into the case assembly (6).

1. Hold the cylinder assembly (1) so the retainer pin pocket is facing upward.
2. Insert one tumbler spring (2) into each of the 4 spring wells.
3. The first tumbler (3) to be loaded will be the first key cut position, the first number in the key code. Install the first tumbler in the slot nearest the head of the lock cylinder. Install the remaining tumblers following the key code into the slots at the key cut positions 3, 5 and 7. It may be necessary to move the sidebar (already pre-assembled into the cylinder assembly) out slightly to fully install the tumbler into the correct slot.
4. Check the correct loading by holding the tumblers (3) in position and fully inserting the key into the cylinder assembly. All tumblers and the sidebar should be flush with the outside diameter of the cylinder assembly body.
5. Rotate the cylinder assembly (1) so that the retention lug is facing upward and then remove the key, always holding all tumblers so they do not fall out.
6. Insert one tumbler spring (2) into each of the 4 spring wells.
7. The first tumbler (3) to be loaded will be the second key cut position, the second number in the key code. Install the tumbler in the slot nearest the head of the lock cylinder. Install the remaining tumblers following the key code into the slots at the key cut positions 4, 6 and 8.
8. Check for the correct loading by holding the tumblers (3) in position and fully inserting the key into the cylinder assembly (1).
9. Lightly lubricate the tumbler (3) surfaces and the small detent recess on the side of the cylinder assembly (1) using the lubrication provided.
10. With the key fully inserted, rotate the cylinder assembly so that the side with the retaining pin (4) pocket is facing upward.
11. Insert the retaining pin spring (5) and then retaining pin (4) into the pocket located behind the 4 tumblers. The retaining pin spring and retaining pin are not self-retaining and must be held in place until the cylinder is installed into the case assembly (6).

Warning: Wear safety glasses in order to avoid eye damage.

12. With the key fully inserted into the cylinder assembly and the retaining pin (4) fully depressed into the cylinder, align the retainer lug on the cylinder with the groove on the inside diameter of the case assembly (6). This groove extends the full length of the case assembly.
13. Install the cylinder assembly into the case assembly (6) being very careful to hold the retainer pin spring (5) and retainer pin (4) in the cylinder until they enter into the case assembly. With the cylinder fully inserted into the case assembly, rotate the cylinder counterclockwise until the retainer pin snaps into place limiting the rotation of the cylinder assembly.
14. With the cylinder assembly in the Off-Lock position, insert the detent ball (7), and detent spring (8) into the hole in the side of the case assembly (6). Install the anti-rattle spring (9) into the case assembly over the detent spring. The anti-rattle spring should capture the detent ball and spring in the case assembly. Make sure both ends of the anti-rattle spring (9) are fully seated, pressed into, the case assembly.
15. Remove the key and install the ignition cylinder bezel (10) onto the case assembly (6). Make sure the retaining clips of the ignition cylinder bezel are correctly positioned and fully snapped onto the case assembly.

Front Side Door Lock Cylinder






The door lock cylinder only uses 7 of the 10 cut positions, 3 through 9. The tumbler positions are staggered from side to side, 4 on one side and 3 on the other side, are self-retaining. The left and right door lock cylinders are identical. The lever assembly determines which side of the vehicle the lock cylinder is for. After removing the current lock, record which lever is used and the orientation of rod clip.

Note: All lock cylinders for side milled keys have right and left tumblers. The location of the tooth of the tumbler determines whether it is right of left. Illustrations in this procedure show the right tumblers on the top and the left tumblers on the bottom. All tumblers are marked 1R, 1L, 2R, or 2L. The number being cut depth and the letter meaning right or left.

1. Rotate the cylinder (1) so the side with the 4 tumbler spring wells faces up.
2. Insert the tumbler springs (2) into the 4 spring wells.
3. Install the tumbler (3) for key cut position 3 in the slot closest to the cylinder head. Install the remaining tumblers, key cut positions 5, 7 and 9, following the key code and same process. Press the tumblers in place until they are secure.
4. Check the correct loading of the tumblers by inserting the key into the cylinder. All tumblers should be flush with the lock cylinder body.
5. Turn the cylinder so the side with the 3 tumbler spring wells faces up.
6. Insert the tumbler springs into the 3 spring wells.
7. The first tumbler closest to the front of the lock cylinder to be loaded will be the fourth key cut position. Install the remaining tumblers for key cut positions 6 and 8. Press the tumblers in place until they are secure.
8. Check the correct loading of the tumblers by inserting the key into the cylinder. All of the tumblers should be flush with the lock cylinder body.
9. Apply lubricant to the cylinder body and tumbler surfaces along with a small amount in the head of the cylinder using the supplied grease.
10. Install 2 springs (4) into the spring wells in the head of the lock cylinder.
11. Snap the shutter assembly (5) into the cylinder.
12. Assemble the cylinder into the case (6).
13. Align dimples of the cylinder cap (7) with the 4 recesses in the cap. Secure by pressing the cap into place with light hand pressure.
14. If required, assemble the rod clip (9) to the lever (8) using the recorded lever information.
15. Assemble the lever to the lock. Use E-clip (10) to retain the lever assembly.
16. If supplied, assemble the gasket to the lock.
17. Insert the key into the lock and function the lock to check for proper assembly and smooth operation.

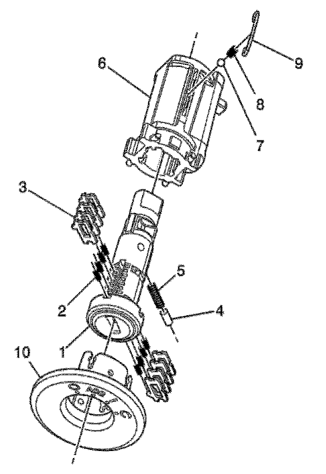
Rear Compartment Lid Lock Cylinder






The rear compartment lock cylinder uses 7 of the 10 key cut positions, 4 through 10. The tumbler positions are staggered from side to side with 4 on one side and 3 on the other are self-retaining. The rod clip lever is used on the rod activated latch, and the flat lever is used on the direct drive latch. After removing the current lock, record which lever is used.

1. Rotate cylinder (1) so the side with the 4 tumbler spring wells faces up.
2. Insert tumbler springs (2) into the 4 tumbler spring wells.
3. Install the tumbler (3) for the key cut position 4 in the slot closest to the cylinder head. Install the remaining tumblers, key cut positions 6, 8, and 10, following the key code and the same process. Press tumblers in place until they are secure.
4. Check for correct loading of the tumblers (3) by inserting the key into the cylinder (1). All tumblers should be flush with the lock cylinder body.
5. Turn the cylinder (1) so that the side with the 3 tumbler spring wells is facing up.
6. Insert tumbler springs (2) into the 3 tumbler spring wells.
7. The first tumbler closest to the front of the lock cylinder to be loaded will be the 5th key cut position. Install the remaining tumblers for the key cut positions 7 and 9. Press tumblers in place until they are secure.
8. Check for the correct loading of the tumblers by inserting the key into the cylinder. All of the tumblers should be flush with the lock cylinder body.
9. Apply lubricant to cylinder body and tumbler surfaces along with a small amount in the head of the cylinder using the supplied grease.
10. Install two springs (4) into the spring wells in the head section of the lock cylinder.
11. Snap the shutter assembly (5) into the cylinder.
12. Insert the cylinder into the case (6) with the cylinder drain slot matching the case drain slot.

Note: Be careful not to scratch or dent the cosmetic surface of the cap or damage the lock cylinder in any way while staking the cap.

13. Attach case cap (7) to the front of the lock and apply pressure to the edge of the cap using the BO-48370 installer tool to secure it.
14. Insert the rubber gasket (8) from the back of the lock matching the slots against the case protrusions.
15. Locate torsion spring (9) to the back of the lock with one end attached to the case tab.
16. Locate lever (10) into the back of the lock attaching it to the other end of the spring. With a smooth counter clockwise rotation insert the lever slots matching the cylinder protrusions. Use the E-clip (11) to retain lever assembly.
17. Insert the key into the lock and function lock to check for the proper assembly and smooth operation.