Key and Lock Cylinder Coding
KEY AND LOCK CYLINDER CODING
KEY IDENTIFICATION AND USAGE
The keys are double sided and reversible. Each key contains transponders that are read by the theft deterrent system when the keys are used in the ignition. The keys have 10 cut positions with 4 different depths.
Two Pontiac keys are furnished with the vehicle. These keys will operate all of the lock cylinders on the vehicle.
CUTTING KEYS
The key code can be obtained from the 4-digit number on the key tag that accompanies the original master and valet keys. The 4-digit key code cross references to the cut and tumbler sequence. The keys have 10 key cut positions and 4 key cut depths. Key cut positions are numbered 1-10, counting from the head of the key to the tip. The key cut depths are 1-4, cut depth number 1 is the deepest cut. The key transponder in the master and valet key must be programmed to the vehicle. Refer to Programming Theft Deterrent System Components in Theft Deterrent.
1. Cut a blank key with the proper position and depth according to the tumbler sequence in the lock cylinders or to the key code on the original key.
2. Inspect the mechanical operation of the duplicated key in the front side door lock cylinder and the ignition lock cylinder to ensure proper fit and function.
3. When replacing or duplicating a key, program the key transponder to the vehicle. Refer to Programming Theft Deterrent System Components.
LOCK CYLINDER TUMBLER OPERATION
Each of the 4 cut depths on the key has a corresponding double-throw tumbler. The cut depth number is stamped on each tumbler for identification.
The I/P compartment door lock cylinder uses tumblers that are self-retaining. The I/P compartment door lock cylinder also requires a retaining tumbler that does not move when the key is inserted. This function is to retain the lock cylinder in the corresponding latch assembly.
Some common tumblers that are NOT self-retaining include the following:
- The ignition lock cylinder
- The front side door lock cylinder
- The rear compartment lid lock cylinder
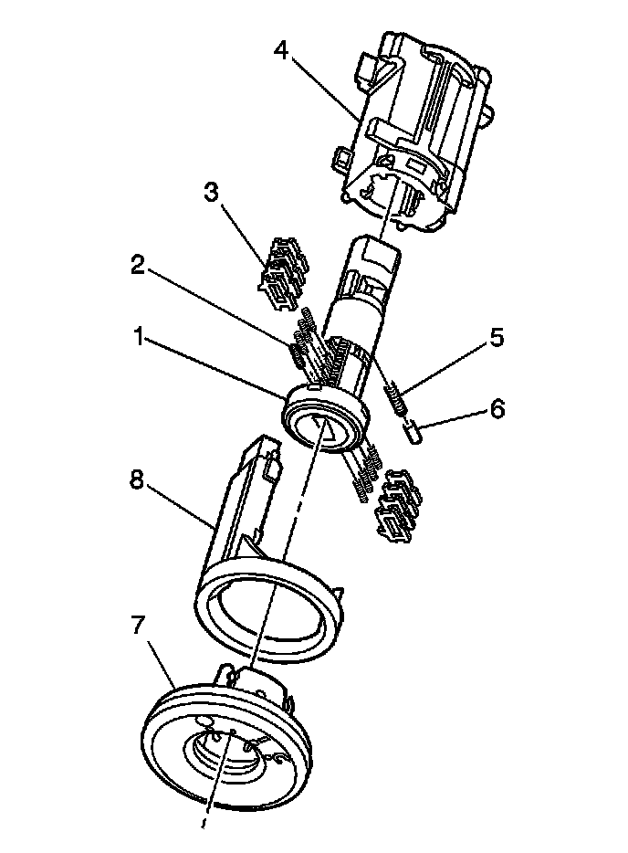
ASSEMBLING AND CODING IGNITION LOCK CYLINDER
The ignition lock cylinder uses 8 of the 10 cut positions, 1-8. The tumbler orientations alternate in adjacent locations from side to side, with 4 tumblers on each side.
1. Hold the uncoded cylinder assembly (1) so that the side with the retention lug is facing upward.
IMPORTANT: The ignition lock cylinder tumblers (3) are not self retaining and must be held in place if the key is not fully inserted into the lock cylinder.
2. Insert 1 tumbler spring (2) into each of the tumbler spring holes.
3. The first tumbler to be loaded will be the key cut position #1, the first number in the key code. Determine the cut depth at this position and insert the corresponding tumbler (3) in the slot nearest the front of the cylinder assembly (1). This is the side where the key would be inserted.
4. In the same manner, determine the cut depth and corresponding tumbler and install the three remaining tumblers (3) into the tumbler slots at key cut positions 3, 5, and 7.
5. Verify the correct loading of the tumblers (3) by holding the tumblers in position and inserting the matching key into the cylinder assembly (1). The tumblers should be flush with the outside diameter of the cylinder assembly.
6. Rotate the cylinder assembly (1) so that the side with the retaining pin (4) hole is facing upward. Remove the matching key.
IMPORTANT: The tumblers (3) are NOT self-retaining and must be held in place.
7. Insert a tumbler spring (2) into each of the 4 tumbler spring holes.
8. The first tumbler to be loaded is key cut position #2. Determine the cut depth at this position and insert the corresponding tumbler (3) in the slot nearest the front of the cylinder assembly (1).
9. In the same manner, determine the cut depth and corresponding tumbler and install the three remaining tumblers (3) into the tumbler slots at key cut positions 4, 6, and 8.
10. Verify the correct loading of the tumblers (3) by holding the tumblers in position and inserting the matching key into the cylinder assembly (1). The tumblers should be flush with the outside diameter of the cylinder assembly.
11. Lightly lubricate the tumbler (3) surfaces using the provided lubrication.
12. With the matching key fully inserted into the coded cylinder assembly, rotate the cylinder so that the side with the retaining pin (4) hole is facing upward.
13. Insert one retaining pin spring (5) and one retaining pin (4) into the hole located behind the 4 tumblers.
IMPORTANT: The retaining pin spring and retaining pin are not self-retaining and must be held in place until the coded cylinder is installed into the case assembly (6).
14. With the matching key fully inserted into the coded cylinder assembly and the retaining pin (4) fully depressed into the cylinder, align the retaining lug on the cylinder with the groove, which extends the full length of the inside diameter of the case assembly.
CAUTION: Wear safety glasses in order to avoid eye damage.
15. Install the coded cylinder assembly into the case assembly (6). Hold the retaining pin spring (5) and the retaining pin (4) in the cylinder until the retaining pin spring and the retaining pin enter the case assembly. With the cylinder fully inserted into the case assembly, rotate the cylinder counterclockwise until the retaining pin snaps into place, limiting the rotation of the cylinder assembly.
16. Remove the matching key and install the theft deterrent module (7) onto the case assembly (6). Position the retaining clips of the theft deterrent module correctly on the case assembly.
17. Install the ignition cylinder bezel (8) through the theft deterrent module (7) and onto the case assembly (6). Position the retaining clips of the ignition cylinder bezel correctly on the case assembly.
ASSEMBLING AND CODING DOOR LOCK CYLINDER
The front side door lock cylinder uses 8 of the 10 cut positions, 4-10. The tumbler orientations alternate in adjacent locations from side to side, with 4 tumblers on each side.
1. Hold the uncoded cylinder (1) so that the side with the V-shaped groove for the detent ball (6) is facing upward.
IMPORTANT: The front side door lock cylinder tumblers (3) are not self-retaining and must be held in place if the key is not fully inserted into the lock cylinder, or until the cylinder (1) is assembled into the case assembly (4).
2. Insert 1 tumbler spring (2) into each of the tumbler spring holes.
3. The first tumbler to be loaded will be the key cut position #3, the third number in the key code. Determine the cut depth at this position and insert the corresponding tumbler (3) in the slot nearest the front of the lock cylinder assembly. This is the side where the key would be inserted.
4. In the same manner, determine the cut depth and corresponding tumbler and install the three remaining tumblers (3) into the tumbler slots at key cut positions 5, 7, and 9.
5. Verify the correct loading of the tumblers (3) by holding the tumblers in position and inserting the matching key into the cylinder (1). The tumblers should be flush with the outside diameter of the cylinder.
6. Rotate the cylinder (1) so that the side with the V-shaped groove for the detent ball (6) is facing downward. Remove the matching key.
IMPORTANT: The tumblers (3) are NOT self-retaining and must be held in place.
7. Insert a tumbler spring (2) into each of the 4 tumbler spring holes.
8. The first tumbler to be loaded is key cut position #4. Determine the cut depth at this position and insert the corresponding tumbler (3) in the slot nearest the front of the cylinder (1).
9. In the same manner, determine the cut depth and corresponding tumbler and install the three remaining tumblers (3) into the tumbler slots at key cut positions 6, 8, and 10.
10. Verify the correct loading of the tumblers (3) by holding the tumblers in position and inserting the matching key into the cylinder (1). The tumblers should be flush with the outside diameter of the cylinder.
11. Lightly lubricate the tumbler (3) surfaces using the provided lubrication.
12. Hold the case assembly (4) with the pre-staked detent sprint retainer facing downward.
13. Insert one detent spring (5) and one detent ball (6) into the hole located to the rear and inside of the cylinder case assembly.
IMPORTANT: The detent spring and the detent ball are not self-retaining and must be held in place until the coded cylinder is installed into the case assembly (6).
14. With the matching key fully inserted into the coded cylinder install the coded cylinder into the case assembly (4). Hold the detent spring (5) and the detent ball (6) in place until the coded cylinder is fully installed. The ball should line up with the V-shaped groove on the rear of the cylinder, which will prevent the spring and the ball from falling out of the case assembly.
CAUTION: Wear safety glasses in order to avoid eye damage.
15. Remove the matching key. Keep the coded cylinder (1) fully inserted into the case assembly (4).
16. Insert 1 shutter spring (7) into the shutter spring hole, located on the front face of the cylinder (1).
17. Insert 1 shutter return spring (8) into the shutter spring pocket, located on the front face of the cylinder (1).
18. Install the shutter (9) on top of the shutter return spring (8) and into the recessed grooves in the front face of the cylinder (1). Position the hooked end of the shutter return spring underneath the shutter. Hold the shutter in place against the force of the shutter return spring until you install the cover (10).
19. Install the cover (10) onto the top of the cylinder (1). Snap the legs on the cover onto the cylinder head, and position the ends of the shutter assembly (9) in the grooves located in the front face of the cylinder.
20. Install the lock cylinder cap (11) by aligning the drain hole in the cap with the bottom of the case assembly (4). Snap the cap into place with slight hand pressure. Retain the cap securely on the case assembly. Verify that the shutter spring (7) and the shutter return spring (8) push the shutter (9) and the cover (10) up against the inside surface of the cap.
21. Install the lever (12) onto the end of the cylinder (1).
22. Install the retaining ring (13) in the groove at the end of the cylinder (1) to secure the lever (12) to the cylinder.
ASSEMBLING AND CODING REAR COMPARTMENT LID LOCK
The rear compartment lock cylinder uses 8 of the 10 key cut positions, 3-10. The tumbler orientations alternate in adjacent locations from side to side with four on each side.
1. Hold the uncoded cylinder (1) so that the side with the drain hole is facing downward.
IMPORTANT: The front side door lock cylinder tumblers (3) are not self-retaining and must be held in place if the key is not fully inserted into the lock cylinder, or until the cylinder (1) is assembled into the case assembly (4).
2. Insert 1 tumbler spring (2) into each of the tumbler spring holes.
3. The first tumbler to be loaded will be the key cut position #3, the third number in the key code. Determine the cut depth at this position and insert the corresponding tumbler (3) in the slot nearest the front of the cylinder (1). This is the side where the key would be inserted.
4. In the same manner, determine the cut depth and corresponding tumbler and install the three remaining tumblers (3) into the tumbler slots at key cut positions 5, 7, and 9.
5. Verify the correct loading of the tumblers (3) by holding the tumblers in position and inserting the matching key into the cylinder (1). The tumblers should be flush with the outside diameter of the cylinder.
6. Rotate the cylinder (1) so that the side with the drain hole is facing upward. Remove the matching key.
IMPORTANT: The tumblers (3) are NOT self-retaining and must be held in place.
7. Insert a tumbler spring (2) into each of the 4 tumbler spring holes.
8. The first tumbler to be loaded is key cut position #4. Determine the cut depth at this position and insert the corresponding tumbler (3) in the slot nearest the front of the cylinder (1).
9. In the same manner, determine the cut depth and corresponding tumbler and install the three remaining tumblers (3) into the tumbler slots at key cut positions 6, 8, and 10.
10. Verify the correct loading of the tumblers (3) by holding the tumblers in position and inserting the matching key into the cylinder (1). The tumblers should be flush with the outside diameter of the cylinder.
11. Lightly lubricate the tumbler (3) surfaces using the provided lubrication.
12. With the matching key fully inserted into the coded cylinder install the coded cylinder into the case (4).
13. Remove the matching key. Keep the coded cylinder (1) fully inserted into the case (4).
14. Insert 1 shutter spring (5) into each of the 2 shutter spring holes, located on the front face of the cylinder (1).
15. Install the shutter assembly (6) into the recessed area on the front face of the cylinder (1). Position the ends of the pin on the shutter assembly in the pin cavities located in the front face of the cylinder.
16. Install and stake the lock cylinder cap (8) by rolling the edge of the cap over onto the head of the case (4). Do NOT damage the lock cylinder cap or the case in any way while staking the cap. Stake the cap securely to the case and verify that the shutter springs (5) push the shutter assembly (6) up against the inside surface of the cap.
17. Install the gasket (7) over the end of the cylinder assembly and slide the gasket all the way up the case (4) until the gasket is positioned behind the cap (8).
18. Install the return spring (9) over the back end of the cylinder (1) with the straight hook facing the rear of the case (4). Engage the straight hook of the return spring with the hook feature on the rear of the case.
19. Install the lever (10) onto the end of the cylinder (1).
20. Install the retaining ring (11) in the groove at the end of the cylinder (1) to secure the lever (10) to the cylinder. Engage the bent hook of the return spring (9) with the lever.
21. Install the theft deterrent switch (12) onto the end of the cylinder (1) and snap the switch legs onto the case (4). Engage the theft deterrent switch with the end of the cylinder and attach the switch securely to the case.
22. Verify the operation of the lock assembly. The return spring (9) should provide a counterclockwise snap back.
ASSEMBLING AND CODING IP STORAGE COMPARTMENT LOCK CYLINDER
The IP storage compartment lock only uses four of the ten cut positions 7-10. A retainer tumbler is used in the IP storage compartment lock to retain the lock cylinder in the latch assembly. This retainer tumbler is not moved by the key. The retainer tumbler occupies the slot closest to the head of the IP storage compartment lock cylinder and should come already installed in the cylinder.
1. Hold the cylinder (3) so that the side with four tumbler spring wells is facing up.
2. Insert tumbler springs (2) into the 4 spring wells.
3. Install the tumbler (1) for key cut position #7 into the slot nearest to the front of the lock cylinder.
4. Install the 3 remaining tumblers, key cut positions 8, 9 and 10, into the cylinder.
5. Snap the tumblers into place with light hand pressure.
6. Inspect for the correct loading of the tumblers (1) by inserting the key into cylinder (3). All of the tumblers should be flush with the lock cylinder.