Curiosii for ever!: Car repair manuals for everyone.

Engine


Disassembled Views
Upper Intake Manifold and Components





305 - Thermostat Bypass Hose Clamp
305 - Thermostat Bypass Hose Clamp
306 - Thermostat Bypass Hose
307 - Thermostat Bypass Pipe Seal
308 - Thermostat Bypass Pipe Bolt - To Front Cover
309 - Thermostat Bypass Pipe
310 - Thermostat Bypass Pipe Nut
500 - Upper Intake Manifold
501 - Upper Intake Manifold Stud
503 - Accelerator Control Cable Bracket
504 - Idle Air Control Valve
505 - MAP Sensor Bracket
506 - MAP Sensor
507 - Throttle Position Sensor
508 - Upper Intake Manifold Bolt
509 - Spark Plug Wire Support Bracket
510 - Radiator Surge Tank Inlet Pipe Bracket
513 - Throttle Body Gasket
514 - Throttle Body
515 - Throttle Body Bolt
516 - Upper Intake Manifold Gasket
524 - Idle Air Control Valve Bolt
525 - Valve Rocker Cover Seal
526 - Valve Rocker Cover
530 - Oil Fill Cap
531 - PCV Valve
532 - PCV Valve Grommet
533 - PCV Tube - Foul Air
535 - Throttle Position Sensor Bolt
545 - Oil Fill Cap Seal
550 - Throttle Body Stud
552 - Throttle Body Heater Hose - Outlet
553 - Throttle Body Heater Hose - Inlet
554 - Throttle Body Heater Hose Clamp
554 - Throttle Body Heater Hose Clamp
554 - Throttle Body Heater Hose Clamp
554 - Throttle Body Heater Hose Clamp
555 - Accelerator Control Cable Bracket Bolt
556 - Accelerator Control Cable Bracket Nut
566 - PCV Valve Retainer
610 - Exhaust Crossover Pipe
611 - EGR Pipe Bolt - To EGR
612 - EGR Pipe
613 - EGR Valve Bolt
614 - EGR Valve
615 - EGR Valve Gasket - To Intake Manifold
617 - Exhaust Crossover Pipe Stud
618 - Exhaust Crossover Pipe Nut
619 - Exhaust Crossover Pipe Heat Shield
620 - Exhaust Crossover Pipe Heat Shield Bolt
700 - Ignition Coil Assembly
701 - Ignition Coil Assembly Stud
702 - Ignition Coil Assembly Nut
703 - Ignition Coil Assembly Bolt
704 - Spark Plug Wire Harness - Front
705 - Spark Plug Wire Support
711 - Ignition Coil
715 - Spark Plug Wire Harness - Rear
716 - Ignition Coil Bolt
722 - Wire Support Bracket
724 - EVAP Purge Valve
725 - EVAP Purge Valve Bolt
728 - EVAP Purge Valve Bracket

Lower Intake Manifold, Cylinder Head and Components





200 - Cylinder Head
200 - Cylinder Head
201 - Valve Seal
202 - Valve Spring
203 - Valve Spring Cap
204 - Valve Stem Key
205 - Valve Pushrod - Exhaust
206 - Valve Rocker Arm
207 - Valve Rocker Arm Bolt
208 - Cylinder Head Bolt - Medium
209 - Cylinder Head Bolt - Short
210 - Engine Lift Bracket - Rear
211 - Engine Lift Bracket Bolt - Rear
212 - Spark Plug
213 - Exhaust Valve
214 - Intake Valve
215 - Cylinder Head Gasket
215 - Cylinder Head Gasket
216 - Cylinder Head Locating Pin
228 - Drive Belt Tensioner Bolt
229 - Drive Belt Tensioner
230 - Generator Bracket Bolt - Short
231 - Generator Bracket Bolt - Medium
232 - Generator Bracket Bolt - Long
233 - Generator Bracket
234 - Engine Lift Bracket - Front
238 - Heater Inlet Pipe Stud
239 - Heater Inlet Pipe
240 - Heater Inlet Pipe Nut
241 - Heater Inlet Pipe Seal
242 - Cylinder Head Expansion Plug
242 - Cylinder Head Expansion Plug
243 - Valve Guide
244 - Valve Seat - Exhaust
245 - Valve Seat - Intake
246 - Valve Pushrod - Intake
255 - Fuel Feed and Return Pipe Clip
257 - Fuel Feed and Return Pipe Clip Stud
258 - Fuel Feed and Return Pipe Clip Nut
312 - Thermostat
313 - Thermostat Seal
314 - Water Outlet Housing
315 - Water Outlet Housing Bolt
316 - Water Outlet Housing Fitting
517 - Fuel Rail Bolt
518 - Fuel Rail
519 - Fuel Injector Seal
519 - Fuel Injector Seal
520 - Lower Intake Manifold Bolt - Long
521 - Lower Intake Manifold
522 - Lower Intake Manifold Bolt - Short
523 - Lower Intake Manifold Gasket
525 - Valve Rocker Cover Seal
526 - Valve Rocker Cover
527 - Valve Rocker Cover Bolt
528 - Valve Rocker Cover Bolt Grommet
529 - Vacuum Harness
548 - Fuel Injector Retaining Clip
549 - Fuel Injector
557 - Fuel Rail Service Port Cap
558 - Fuel Rail Service Port Schrader Valve
559 - Fuel Pressure Regulator
560 - Fuel Pressure Regulator Bolt
561 - Fuel Feed Pipe
562 - Fuel Return Pipe
567 - Fuel Feed Pipe Seal
600 - Exhaust Manifold - Left
601 - Exhaust Manifold - Right
602 - Exhaust Manifold Heat Shield - Right - Upper
603 - Exhaust Manifold Heat Shield Bolt
603 - Exhaust Manifold Heat Shield Bolt
604 - Exhaust Manifold Gasket
604 - Exhaust Manifold Gasket
605 - Exhaust Manifold Stud
606 - Heated Oxygen Sensor
607 - Exhaust Manifold Nut
608 - Exhaust Manifold Heat Shield - Left
616 - Exhaust Manifold Heat Shield - Right - Lower
700 - Ignition Coil Assembly

Engine Block and Components





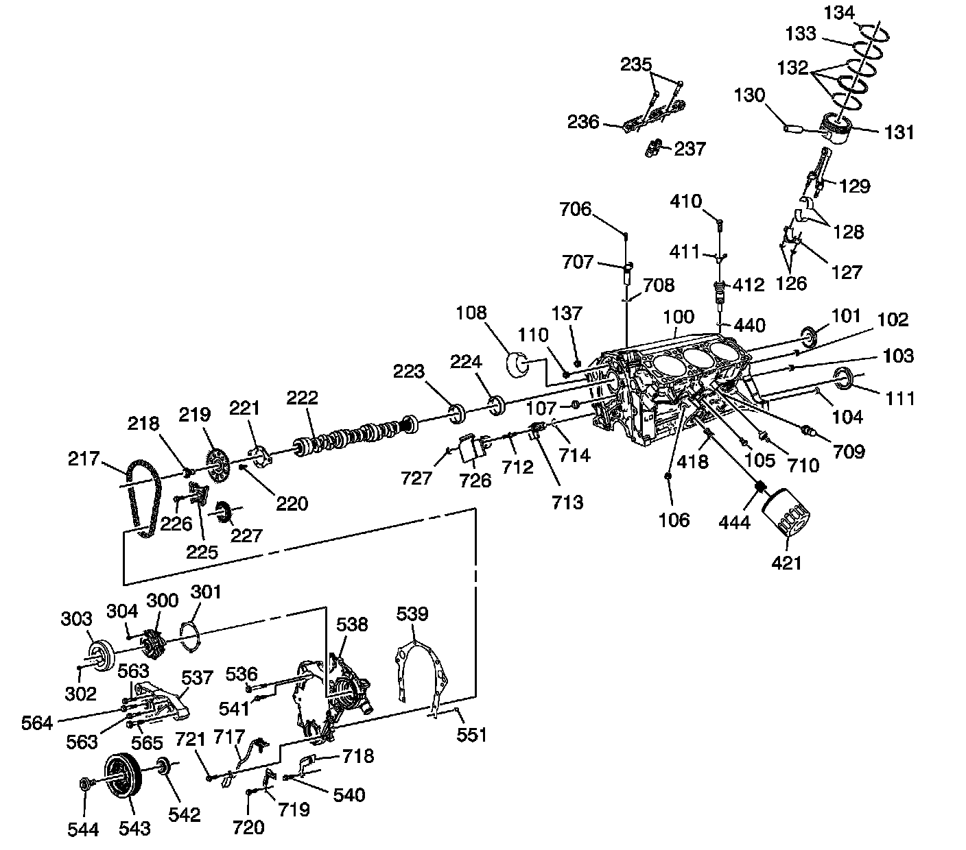
100 - Engine Block
101 - Camshaft Rear Bearing Hole Plug
102 - Engine Block Oil Gallery Plug - Rear - Large
103 - Engine Block Oil Gallery Plug - Rear - Small
104 - Transmission Locating Pin
105 - Engine Block Coolant Drain Hole Plug
106 - Oil Filter Bypass Hole Plug
107 - Engine Block Oil Gallery Plug - Front - Press Fit
108 - Engine Block Plug
110 - Engine Block Oil Gallery Plug - Front - Small
111 - Crankshaft Rear Oil Seal
126 - Connecting Rod Bearing Cap Nut
127 - Connecting Rod Bearing Cap
128 - Connecting Rod Bearing
129 - Connecting Rod
130 - Piston Pin
131 - Piston
132 - Piston Ring - Oil Control
133 - Piston Ring - Compression - Lower
134 - Piston Ring - Compression - Upper
137 - Engine Block Oil Gallery Plug - Front - Large
217 - Timing Chain
218 - Camshaft Sprocket Bolt
219 - Camshaft Sprocket
220 - Camshaft Thrust Plate Bolt
221 - Camshaft Thrust Plate
222 - Camshaft
223 - Camshaft Bearing - 1 and 4
224 - Camshaft Bearing - 2 and 3
225 - Timing Chain Dampener
226 - Timing Chain Dampener Bolt
227 - Crankshaft Sprocket
235 - Valve Lifter Guide Bolt
236 - Valve Lifter Guide
237 - Valve Lifter
300 - Water Pump
301 - Water Pump Gasket
302 - Water Pump Pulley Bolt
303 - Water Pump Pulley
304 - Water Pump Bolt
410 - Oil Pump Drive Bolt
411 - Oil Pump Drive Clamp
412 - Oil Pump Drive
418 - Oil Filter Bypass Valve
421 - Oil Filter
440 - Oil Pump Drive Seal
444 - Oil Filter Fitting
536 - Engine Front Cover Bolt - Large
537 - Engine Mount Support
538 - Engine Front Cover
539 - Engine Front Cover Gasket
540 - Engine Front Cover Bolt - Small
541 - Engine Front Cover Bolt - Medium
542 - Crankshaft Front Oil Seal
543 - Crankshaft Balancer
544 - Crankshaft Balancer Bolt
551 - Front Cover Locating Pins
563 - Engine Mount Support Bolt - Small
563 - Engine Mount Support Bolt - Small
564 - Engine Mount Support Bolt - Medium
565 - Engine Mount Support Bolt - Large
706 - Camshaft Position Sensor Bolt
707 - Camshaft Position Sensor
708 - Camshaft Position Sensor Seal
709 - Engine Oil Pressure Sensor
710 - Knock Sensor
712 - Crankshaft Position Sensor Stud
713 - Crankshaft Position Sensor - Engine Block
714 - Crankshaft Position Sensor Seal
717 - Crankshaft Position Sensor - Front Cover
718 - Crankshaft Position Sensor Wire Harness Bracket - Small
719 - Crankshaft Position Sensor Wire Harness Bracket - Large
720 - Crankshaft Position Sensor Wire Harness Bracket Bolt
721 - Crankshaft Position Sensor Bolt - Front Cover
726 - Crankshaft Position Sensor Heat Shield
727 - Crankshaft Position Sensor Heat Shield Nut

Crankshaft and Components





112 - Flywheel
114 - Flywheel Bolt
115 - Crankshaft Upper Bearing - 1 and 4
116 - Crankshaft Upper Bearing - 2
117 - Crankshaft Upper Bearing - 3
118 - Crankshaft
119 - Crankshaft Balancer Key
120 - Crankshaft Lower Bearing - 2
121 - Crankshaft Lower Bearing - 1 and 4
122 - Crankshaft Bearing Cap - 1
123 - Crankshaft Bearing Cap Stud
124 - Crankshaft Bearing Cap - 4
125 - Crankshaft Bearing
135 - Crankshaft Lower Bearing - 3
136 - Crankshaft Bearing Cap - 2 and 3
400 - Oil Pan
401 - Oil Pan Gasket
402 - Oil Pan Bolt - to Engine Block
403 - Oil Pan Drain Plug
404 - Crankshaft Oil Deflector Nut
405 - Crankshaft Oil Deflector
406 - Oil Pump Locating Pin
407 - Oil Pump Shaft
408 - Oil Pump
409 - Oil Pump Bolt
413 - Oil Level Indicator Tube
414 - Oil Level Indicator Tube Bolt
415 - Oil Level Indicator
416 - Oil Pan Drain Plug Seal
417 - Oil Level Indicator Seal
426 - Oil Pan Bolt - Side of Pan