Curiosii for ever!: Car repair manuals for everyone.

Cross-Member: Service and Repair



Transmission Support Replacement

Removal Procedure

1. Install the Engine Support Fixture. Refer to Engine Support Fixture in Engine Mechanical - 1.8L (LV6) or to Engine Support Fixture in Engine Mechanical - 1.8L (LNK).
2. Raise and suitably support the vehicle. Refer to Lifting and Jacking the Vehicle in General Information.
3. Remove the front tire and wheel assemblies. Refer to Tire and Wheel Removal and Installation in Tires and Wheels.
4. Remove the engine splash shields. Refer to Splash Shield Replacement - Engine - Left (Splash Shield Replacement - Engine - Left) and Splash Shield Replacement - Engine - Right (Splash Shield Replacement - Engine - Right) in Body Front End.
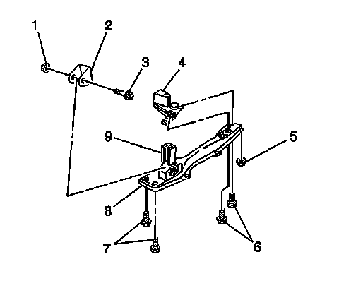
5. Remove the nut (1) and bolt (3) from the front transmission mount (9) and bracket (2).
6. Remove the following components from the crossmember (8):

* The front bolts (7)
* The rear bolts (6)
* The rear transmission mount nut (5)
* The front suspension dampener (4), if necessary, 2WD models only
* The front transmission mount (9), if necessary





7. Remove the transaxle support (8) from the front suspension crossmember.



Installation Procedure





1. Install the transaxle support (8) to the front suspension crossmember.
2. Install the front transmission mount (9), if removed.
3. Install the front suspension dampener (4), if removed, 2WD models only.
4. Install the transaxle support (8) to the vehicle.

Notice: Refer to Fastener Notice in Cautions and Notices.

5. Install the rear transmission mount nut (5) to the transaxle support (8).

Tighten the rear transaxle mount nut to 52 N.m (38 lb ft).

6. Install the front bolts (7) to the transaxle support (8).

Tighten the front bolts to 39 N.m (29 lb ft).

7. Install the rear bolts (6) to the transaxle support (8).

Tighten the rear bolts to 52 N.m (38 lb ft).

8. Install the bolt (3) and nut (1), to the front transmission mount (9) and bracket (2).

Tighten the nut and bolt to 52 N.m (38 lb ft).

9. Install the engine splash shields. Refer to Splash Shield Replacement - Engine - Left (Splash Shield Replacement - Engine - Left) and Splash Shield Replacement - Engine - Right (Splash Shield Replacement - Engine - Right) in Body Front End.
10. Install the tire and wheel assemblies. Refer to Tire and Wheel Removal and Installation in Tires and Wheels.
11. Lower the vehicle.
12. Remove the Engine Support Fixture. Refer to Engine Support Fixture in Engine Mechanical - 1.8L (LV6) or to Engine Support Fixture in Engine Mechanical - 1.8L (LNK).