Curiosii for ever!: Car repair manuals for everyone.

Sunroof / Moonroof



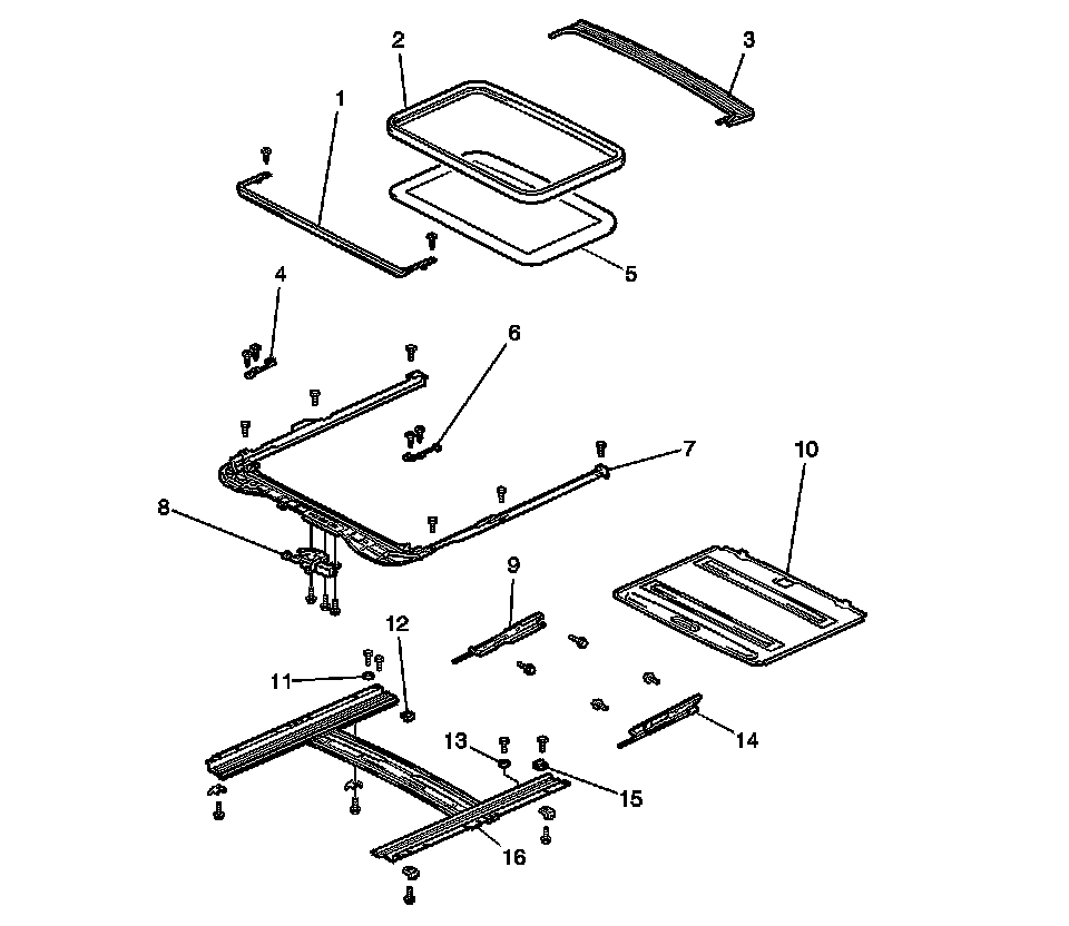
Power Sunroof Disassembled View

Sunroof




1 - Roof Wind Deflector
2 - Sunroof Weatherstrip
3 - Rear Roof Drip Channel
4 - LH Sunroof Guide Block
5 - Sunroof Glass
6 - RH Sunroof Guide Block
7 - Sunroof Housing
8 - Sunroof Drive Gear Assembly
9 - RH Drive Cable
10 - Sunshade Trim Sub Assembly
11 - Sunroof Panel Stopper
12 - Sunshade Trim Stopper
13 - Sunroof Panel Stopper
14 - LH Drive Cable
15 - Sunshade Trim Stopper
16 - Sunroof Rail Sub Assembly