Curiosii for ever!
: Car repair manuals for everyone.
Home
>>
Pontiac
>>
2004
>>
Vibe AWD L4-1.8L VIN 8
>>
Repair and Diagnosis
>>
Diagrams
>>
Exploded Views
>>
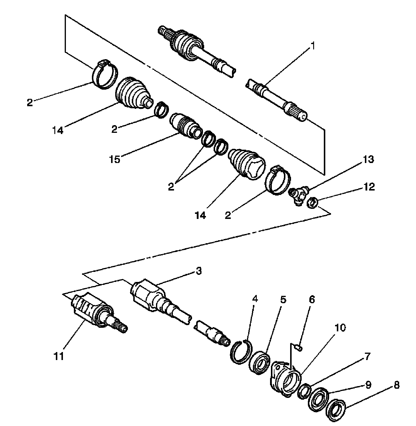
Axle Shaft Assembly
Axle Shaft Assembly
Wheel Drive Shafts Disassembled Views (Front)
With LV6 Engine
With LNK Engine
Wheel Drive Shafts Disassembled Views (Rear)