Curiosii for ever!: Car repair manuals for everyone.

Keyless Entry Receiver: Service and Repair

REMOTE CONTROL DOOR LOCK RECEIVER REPLACEMENT

REMOVAL PROCEDURE

CAUTION: Refer to Battery Disconnect Caution in Service Precautions.




1. Disconnect the negative battery cable.
2. Remove the right upper quarter panel trim.
3. Disconnect the remote control door lock receiver electrical connector (2).
4. Remove the bolt (3) from the remote control door lock receiver (1).
5. Remove the remote control door lock receiver (1) from the vehicle.




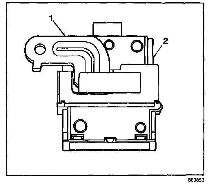
6. Using a flat bladed tool, remove the mounting bracket (1) from the receiver (2), if necessary.

INSTALLATION PROCEDURE




1. Instal the remote control door lock receiver (2) to the mounting bracket (1), if removed.




2. Install the remote control door lock receiver (1) to the vehicle.

NOTE: Refer to Fastener Notice in Service Precautions.

3. Install the bolt (3) to the door lock receiver (1).

Tighten
Tighten the remote control door lock receiver bolt to 10 N.m (89 lb in).

4. Connect the remote control door lock receiver electrical connector (2).
5. Install the right upper quarter panel trim.
6. Connect the negative battery cable.
7. Reprogram the remote control door lock receiver, if necessary. Programming and Relearning