Curiosii for ever!
: Car repair manuals for everyone.
Home
>>
Pontiac
>>
2004
>>
Sunfire L4-2.2L VIN F
>>
Repair and Diagnosis
>>
Windows and Glass
>>
Windows
>>
Diagrams
Windows: Diagrams
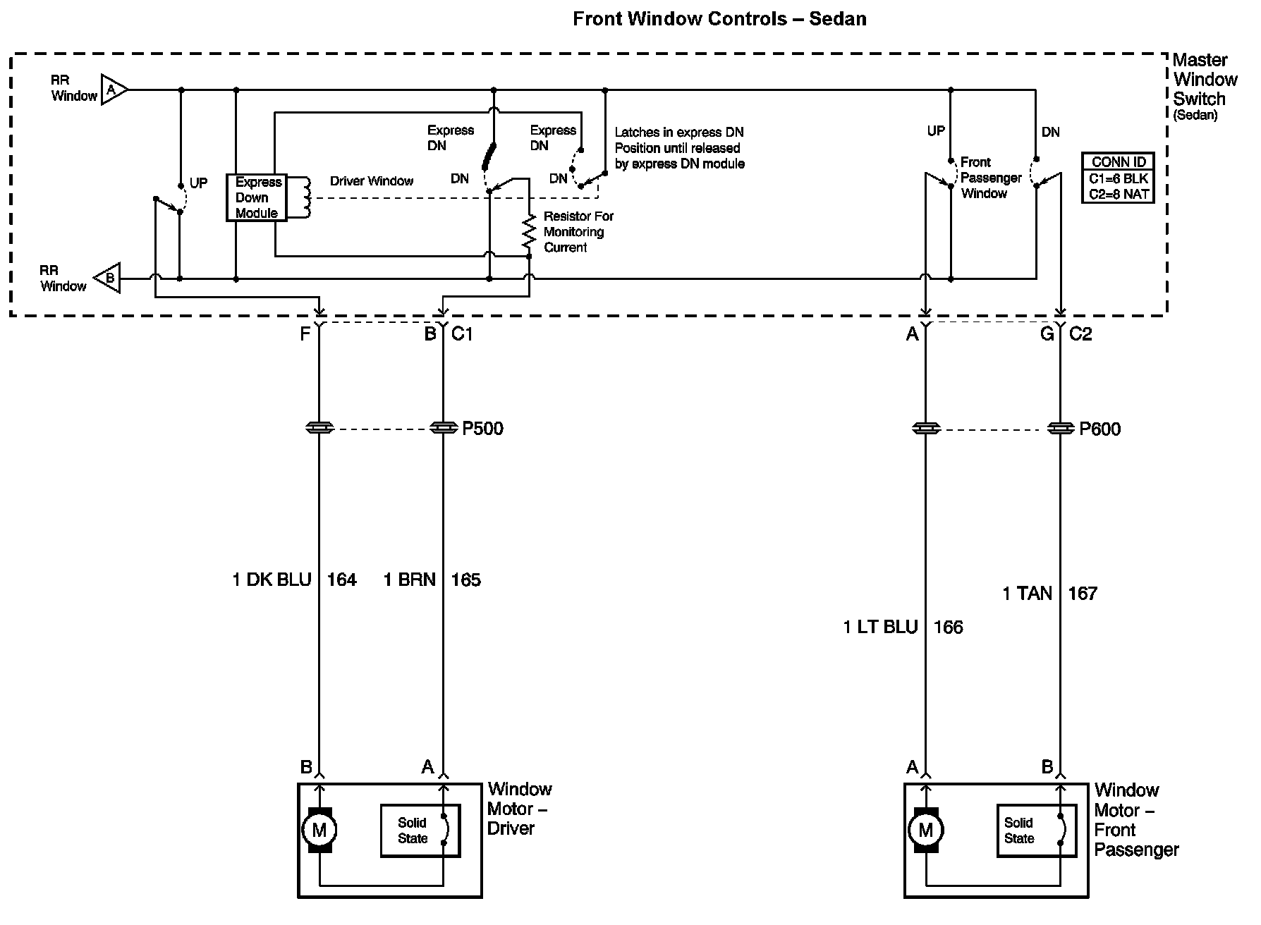
Power Window Diagram 1:
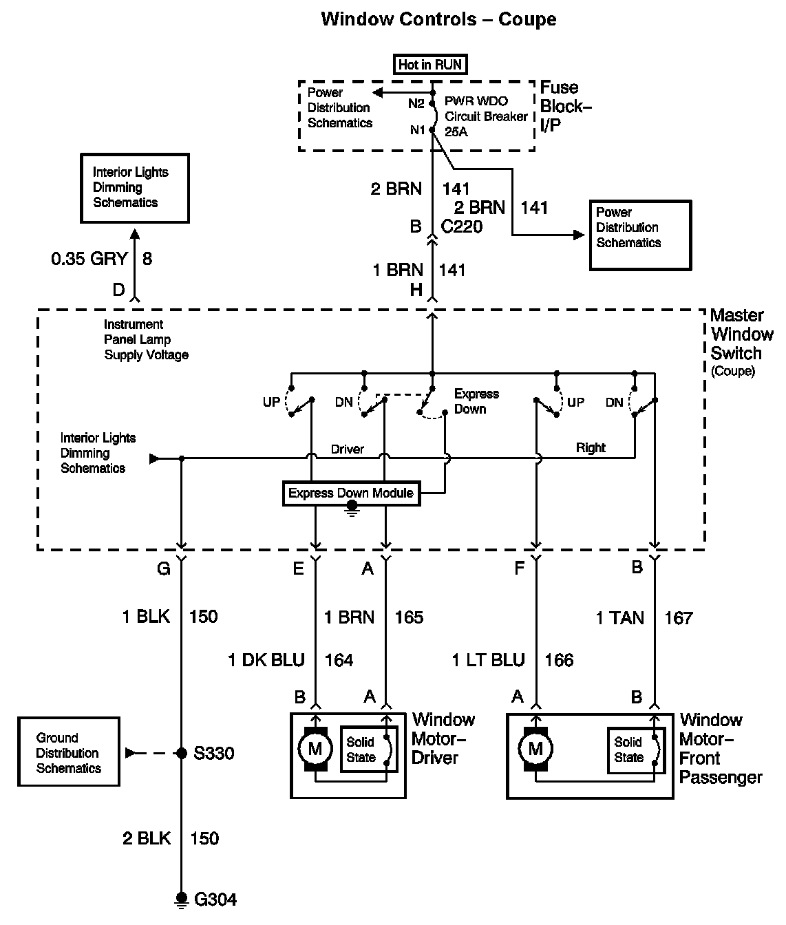
Power Window Diagram 2:
Power Window Diagram 3: