Curiosii for ever!: Car repair manuals for everyone.

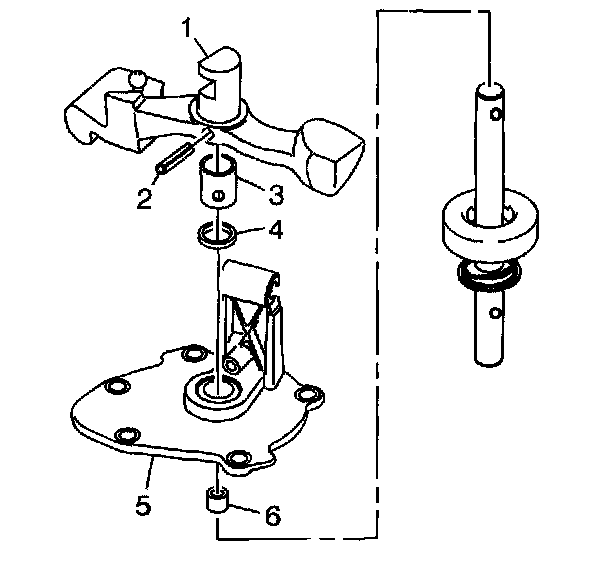
Shifter Assemble

Shifter Assemble





1. Install the inner spring seat (4) onto the shift rod (5).
2. Install the inner spring (3).
3. Install the outer spring seat (2).
4. Install NEW retainers (1).





5. Install the shift cover (5).
6. Install the shift cover bushing (3), if removed.
7. Install the shift lever (1).
8. Install a new roll pin (2).





9. Install the select lever (4).
10. Install the washer (2).
11. Install the retainer (1).





12. Install the outer spring (1).
13. Install the end cap (2).
14. Install the inner control lever (4) into the outer control lever (3).
15. Install the control levers onto the shaft.

Important: Properly support the inner control lever (4) when installing the roll pin. Do not support the inner control lever (4) with the outer control lever (3).

16. Install a new roll pin (5).

Important: Install the reverse lockout inhibit roll pin 1/3 to 1/4 way into the shaft. The pin must activate the reverse inhibit lever.

17. Install a new reverse lockout inhibit roll pin (6).