Curiosii for ever!: Car repair manuals for everyone.

Radiator Replacement

Radiator Replacement

^ Tools Required
- J 38185 Hose Clamp Pliers

Removal Procedure





1. Disable the SIR system.
2. Drain the cooling system.
3. Remove the hood latch.
4. Remove the right and left headlamp assemblies.
5. Remove the radiator upper mounting bolts (1) and the upper radiator mounts (2).
6. Raise the vehicle.
7. Disconnect the forward discriminating sensor harness.
8. Remove the cooling fan assembly.





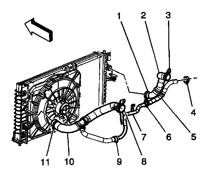
9. Use the J 38185 in order to reposition the radiator outlet hose clamp from the radiator (7).
10. Remove the radiator outlet hose from the radiator (6).





11. Remove the lower transmission oil cooler line from the radiator.
12. Lower the vehicle.
13. Remove the hood latch support bracket and the forward discriminating sensor with the harness.
14. Remove the upper transmission oil cooler line from the radiator.





15. Use the J 38185 in order to reposition the radiator inlet hose clamp from the radiator (1).





16. Remove radiator inlet hose from radiator (2).
17. Remove the surge tank inlet hose (3) and the clamp from the radiator.





18. Remove condenser to radiator mounting bolts (2).
19. Remove the condenser from the radiator, if equipped. The radiator can be removed without discharging the A/C System.
20. Remove the radiator assembly from the vehicle.


Installation Procedure





1. Install the radiator assembly to the vehicle.
2. Install the condenser to the radiator.
3. Install condenser to radiator mounting bolts (2).





4. Use the J 38185 in order to install the surge tank hose (3) to the radiator.
5. Route the forward discriminating sensor harness.
6. Raise the vehicle.





Notice: Refer to Fastener Notice in Service Precautions.

7. Install the lower transmission oil cooler line to the radiator.
^ Tighten the line to 36 Nm (27 ft. lbs.).
8. Install the cooling fan assembly.





9. Install the radiator outlet hose (6) to the radiator.
10. Use the J 38185 in order to reposition the radiator outlet hose clamp (7).
11. Connect the forward discriminating sensor harness connector.
12. Lower the vehicle.
13. install the radiator inlet hose (2) to the radiator.
14. Use the J 38185 in order to reposition the radiator inlet hose clamp (1).





15. Install the upper transmission oil cooler line to the radiator.
^ Tighten the upper transmission oil cooler line to 36 Nm (27 ft. lbs.).





16. Install the upper radiator mount bolts (1) to the upper tie bar.
^ Tighten the bolts to 10 Nm (89 inch lbs.).
17. Install the hood latch support.
18. Install the right and the left headlamp assemblies.
19. Install and adjust the hood latch assembly.
20. Fill the cooling system.
21. Enable the SIR system.