Curiosii for ever!
: Car repair manuals for everyone.
Home
>>
Pontiac
>>
2004
>>
Sunfire L4-2.2L VIN F
>>
Repair and Diagnosis
>>
Diagrams
>>
Electrical Diagrams
>>
Cruise Control
Cruise Control
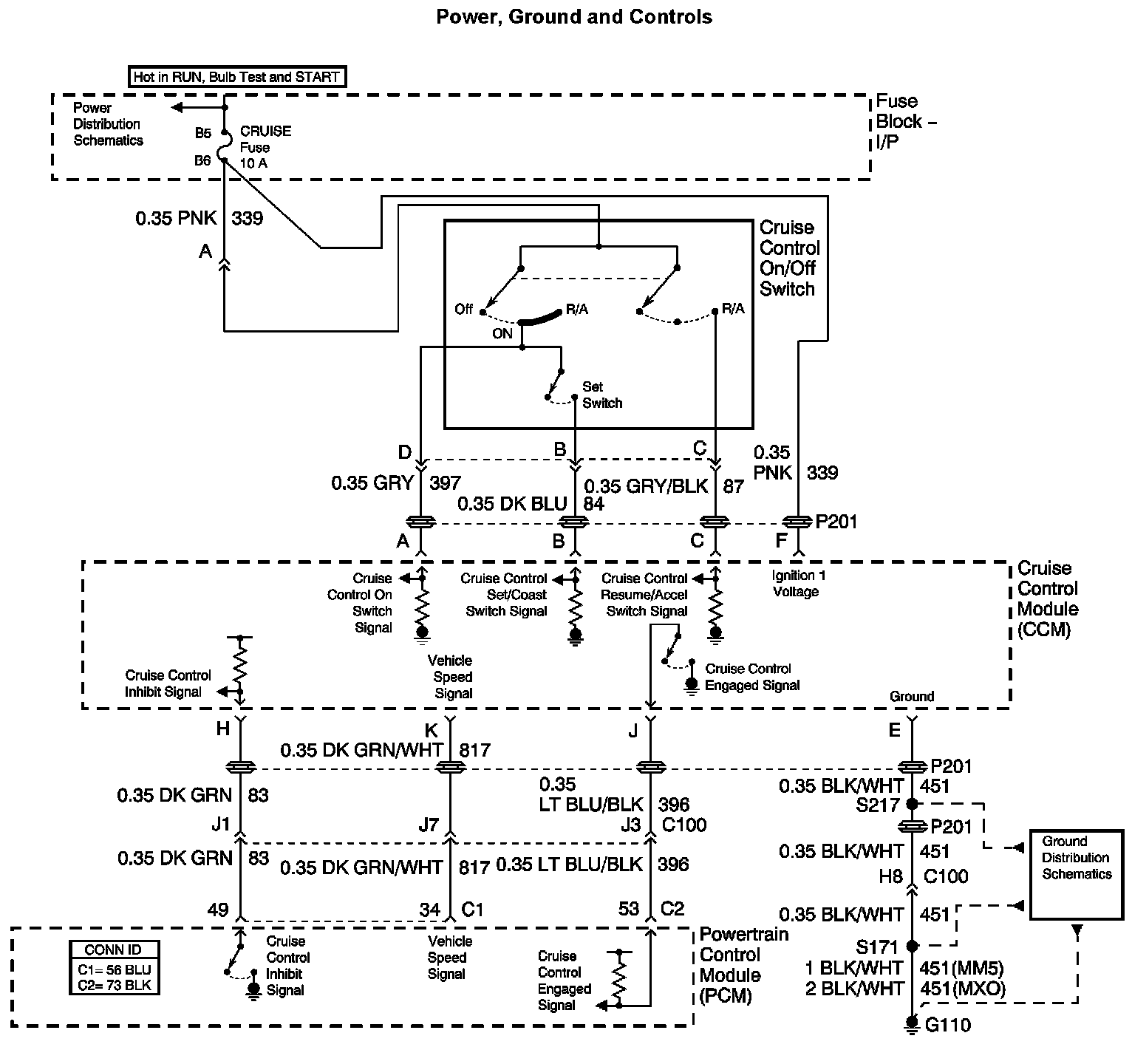
Cruise Control Diagram 1:
Cruise Control Diagram 2: