Curiosii for ever!: Car repair manuals for everyone.

Electrical Diagrams

Automatic Transmission Controls Diagrams (TAP Shift Switches, Stop Lamp Signal, TFT Sensor and TCC, Shift Solenoids):



Automatic Transmission Controls Diagrams (VSS and AT ISS Sensors, Pressure Control Solenoid Valve, and TCC Release Switch):



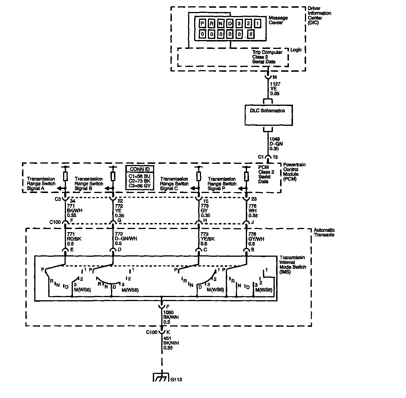
Automatic Transmission Controls Diagrams (PRNDL, and IMS Switch):