Curiosii for ever!: Car repair manuals for everyone.

Power Seat Switch: Service and Repair

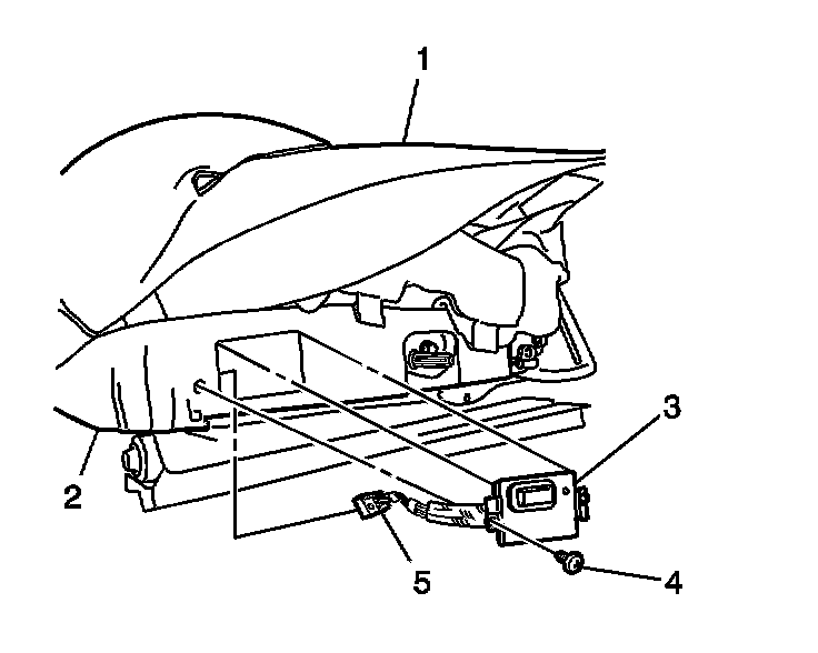
SEAT SWITCH REPLACEMENT - POWER

REMOVAL PROCEDURE




1. Adjust the front bucket seat to the full up position in order to gain access to the power seat switch (3).
2. With a flat-bladed tool remove the bezel (1) from the switch (3).




3. Unfasten the cushion cover (1) J-hook retainer to gain access to the switch (3).
4. Remove the switch bracket screw (4).
5. Remove the switch (3) from the seat cushion frame (2).
6. Disconnect the electrical connector (5) from the switch (3).

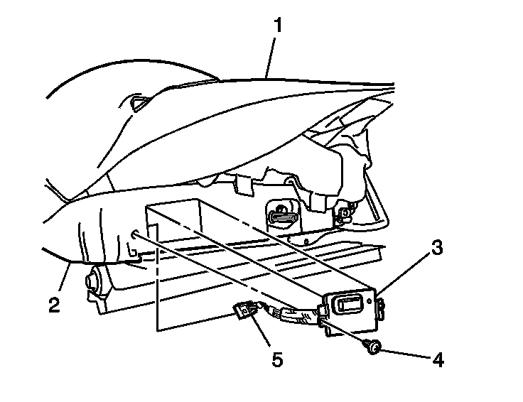
INSTALLATION PROCEDURE




1. Connect the electrical connector (5) to the switch (3).
2. Position the switch (3) to the seat cushion frame (2).
3. Install the power seat switch bracket screw (4).

NOTE: Refer to Fastener Notice in Service Precautions.

Tighten
Tighten the screw to 5 N.m (44 lb in).

4. Adjust the seat cushion cover (1) to a desired appearance.
Fasten the cushion cover (1) J-hook retainer.




5. Align the bezel (1) to the switch (3).
Press the bezel (1) into place until fully seated.
6. Adjust the seat to the original position.