Curiosii for ever!
: Car repair manuals for everyone.
Home
>>
Pontiac
>>
2004
>>
GTO V8-5.7L VIN G
>>
Repair and Diagnosis
>>
Diagrams
>>
Electrical Diagrams
>>
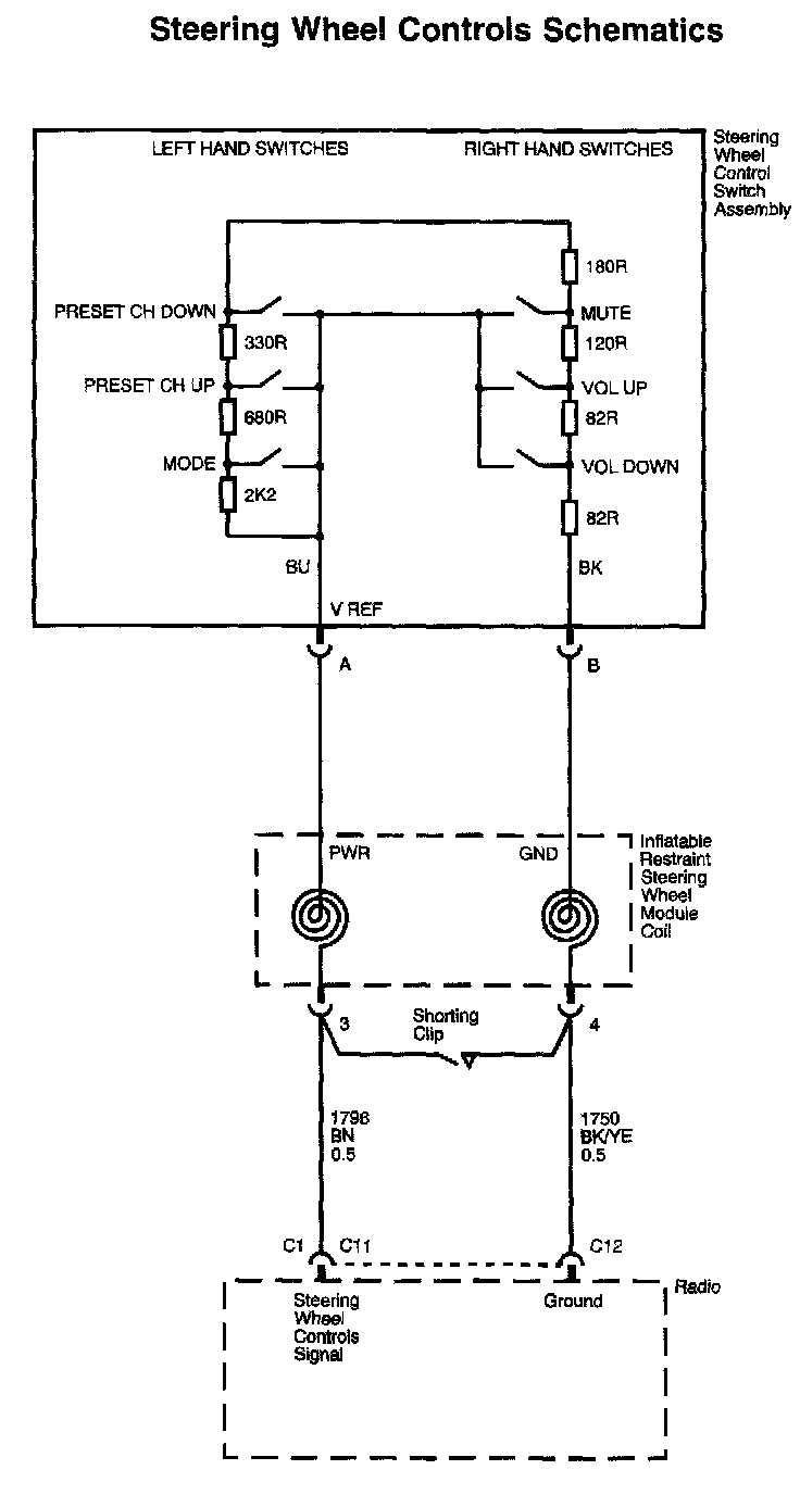
Steering Mounted Controls Transmitter
Steering Mounted Controls Transmitter
Steering Wheel Controls Diagram: