Curiosii for ever!: Car repair manuals for everyone.

Cruise Control Servo Cable: Service and Repair

CRUISE CONTROL CABLE REPLACEMENT

Removal Procedure





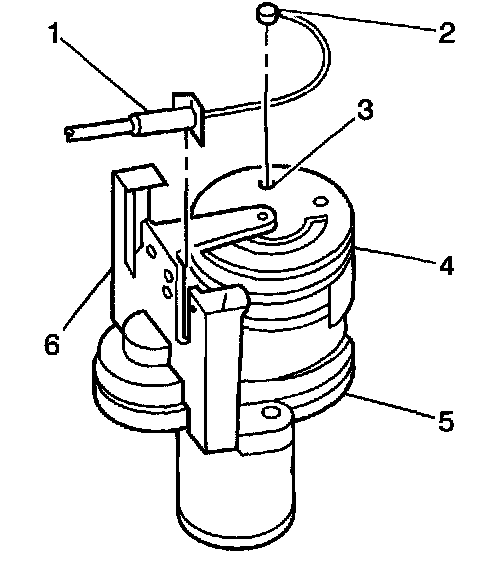
1. Remove the cover (1) from the throttle relaxer (2) by pressing the tabs (3) on both sides of the cover.





2. Rotate the top cam (4) of the throttle relaxer (5) and remove the ferrule (2) of the cruise control inner cable from the locating slot (3) in the throttle cam.
3. Lever out the remaining tang of the outer cable (1) then lift the cable away from the throttle relaxer mounting bracket (6).





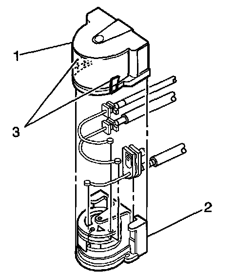
4. Turn the outer control cable (2) towards the engine approximately 45 degrees (a) to release the cable lock mechanism (3) from the cruise control module (1).





5. Pull the outer cable (2) from the cruise control module (4) and disconnect the inner cable (3) from the electric stepper motor strap and fitting (1) by lifting the cable upward, approximately 45 degrees, allowing it to be released from the end fitting
6. Remove the cruise control cable.

Installation Procedure
1. Ensure the cruise control cable is routed correctly.





2. Ensure the motor strap (1) is not twisted. Attach the inner cable end (2) to the motor strap end fitting (3) at the cruise control module (4).





3. While holding the inner cable (1) at the throttle body linkage lever stud connection end, slide the outer cable (2) over the motor strap until the outer cable sits flush with the cruise control module housing (3).
4. Turn the outer cable (2) towards the right hand fender, approximately 45 degrees (a), to lock the outer cable locking mechanism to the cruise control module.





5. Unlock the cruise control outer cable by pulling the lock tangs on the outer cable adjuster/lock (1).





6. Rotate the top cam (4) of the throttle relaxer (5) and install the inner cable ferrule (2) into the slot in the cam (3). Ensure the inner cable is properly in the groove on the cam.
7. Push the outer cable retainer (1) onto the throttle relaxer mounting bracket (6) ensuring the cable retaining tang locks into the mounting bracket.





8. Install the cover (1) onto the throttle relaxer (2).

IMPORTANT: After the cable is fitted, ensure the throttle opens without binding and returns to the fully closed position under throttle return spring tension.





9. Allow the internal spring of the cable adjuster/lock mechanism (1) to take up the free play of the outer cable (2).
10. Push down on the outer cable locking retainer to fix the outer cable to the correct self adjusted length.