Curiosii for ever!: Car repair manuals for everyone.

Rear Integration Module Replacement

REAR INTEGRATION MODULE REPLACEMENT

REMOVAL PROCEDURE
1. Before replacing the RIM, record the personalization settings to transfer to the new module (if they are available). Refer to Body Control Module (BCM) Programming/RPO Configuration (IPM)Body Control Module (BCM) Programming/RPO Configuration (DIM)Body Control Module (BCM) Programming/RPO Configuration (RIM).
2. Remove the rear seat cushion.
3. Remove the rear seat belt buckle anchor bolts.
4. Remove the rear seat back.
5. Move the rear seat back insulator to the side.




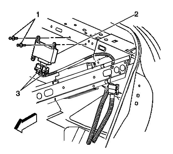
6. Remove the push pin retainers (1).
7. Disconnect the electrical connectors (3).
8. Remove the Rear Integration Module (RIM) (2) from the vehicle.

INSTALLATION PROCEDURE




1. Install the RIM to the vehicle.
2. Connect the electrical connectors (3).
3. Fasten the RIM (2) to the vehicle with the push pin retainers (1).
4. Reposition the rear seat back insulator.
5. Install the rear seat back.
6. Install the rear seat belt buckle anchor bolts.
7. Install the rear seat cushion.
8. Reprogram the RIM. Refer to Body Control Module (BCM) Programming/RPO Configuration (IPM)Body Control Module (BCM) Programming/RPO Configuration (DIM)Body Control Module (BCM) Programming/RPO Configuration (RIM). Programming and Relearning