Curiosii for ever!: Car repair manuals for everyone.

Thermo Element Replacement

Thermo Element Replacement

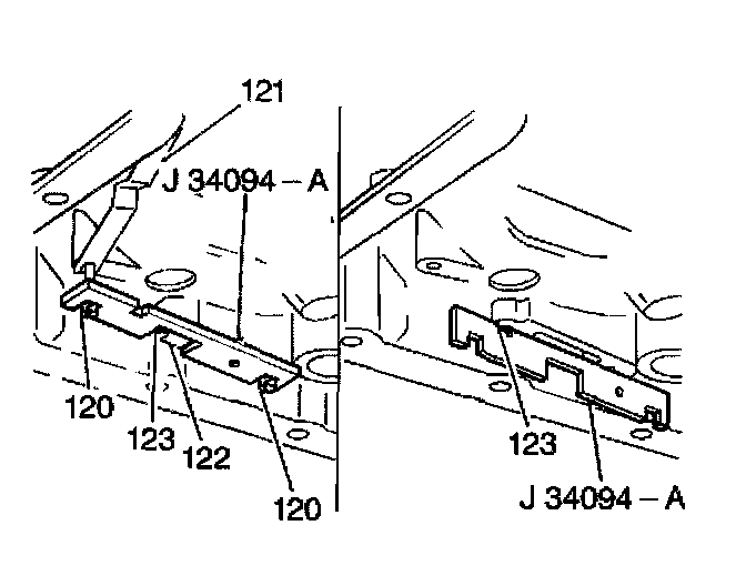
Tools Required
^ J34094-A Thermo Element Height Gage

Removal Procedure
1. Raise and support the vehicle. Refer to Vehicle Lifting.
2. Remove the oil pan.





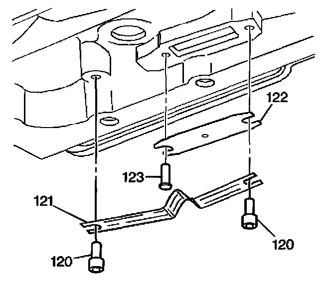
3. Remove the thermo element pins (120, 123) and the washers.
4. Remove the thermo element (121) and the thermo element plate (122).

Installation Procedure





1. Use the J34094-A to set the middle thermo pin (123).
2. Install the new thermo element plate (122).
3. Install the pin (120) and the washer.
4. Use the J34094-A to set the height of the pin and the washer furthest from the accumulator.





5. Use the J34094-A to set the height of the second pin (120) and the washer.
6. Install the thermo element (121) between the two pins (120). The V in the thermo element (121) must contact the thermo element plate (122).
7. Install the oil pan.
8. Lower the vehicle.