Curiosii for ever!
: Car repair manuals for everyone.
Home
>>
Pontiac
>>
2003
>>
Bonneville V6-3.8L SC VIN 1
>>
Repair and Diagnosis
>>
Powertrain Management
>>
Computers and Control Systems
>>
Relays and Modules - Computers and Control Systems
>>
Body Control Module
>>
Diagrams
>>
Diagram Information and Instructions
>>
Passenger Car Zoning
Passenger Car Zoning
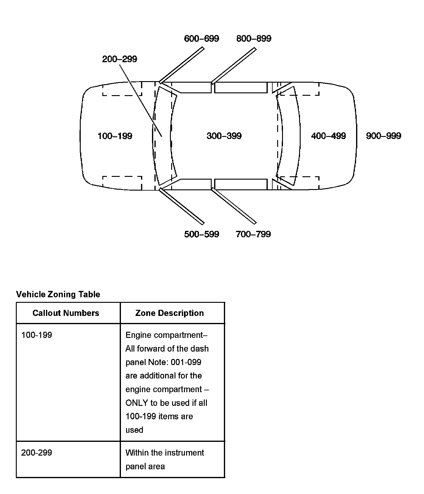
PASSENGER CAR ZONING
All grounds, in-line connectors, pass-through grommets, and splices have identifying numbers that correspond to where they are located in the vehicle. The table explains the numbering system.