Curiosii for ever!: Car repair manuals for everyone.

Instrument Panel Module Replacement

REMOVAL PROCEDURE

CAUTION:
^ Refer to SIR Inflator Module Handling And Storage Caution in Service Precautions.
^ A deployed dual stage inflator module will look the same whether one or both stages were used, always assume a deployed dual stage inflator module has an active stage 2. Improper handling or servicing can activate the inflator module and cause personal injury. Refer to SIR Inflator Module Handling and Storage Caution.


Preliminary, Early Release Information:




1. Disable the SIR system. Refer to Air Bag(s) Arming and Disarming.
2. Remove right closeout/insulator panel.
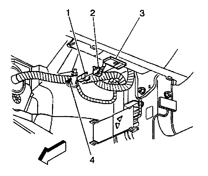
3. Remove the connector position assurance (CPA) (4) from the inflatable restraint instrument panel (I/P) module connector (2).
4. Remove the I/P module yellow connector (2) from the vehicle harness yellow connector (1).
5. Remove the I/P module yellow connector (2) from the I/P bracket (3).




6. Remove the I/P upper trim pad.
7. Note the wire harness routing position of the inflatable restraint I/P module.
8. Push the yellow connector (2) of the inflatable restraint module away from the I/P (3).




9. Remove the mounting fasteners (2) from the inflatable restraint I/P module.
10. Remove the inflatable restraint module (3) from the I/P (1).
11. Fully deploy the module before disposal. If the module was replaced under warranty, fully deploy and dispose of the module after the required retention period. Refer to Inflator Module Handling and Scrapping.
12. When removing the inflatable restraint I/P module (3), do not damage the pigtail (4).

INSTALLATION PROCEDURE




1. When installing the inflatable restraint I/P module (3) do not damage the pigtail (4).
2. Route the inflatable restraint I/P module pigtail (4) down through the I/P (1).
3. Install the inflatable restraint I/P module (3) to the I/P (1).

NOTE: Refer to Fastener Notice in Service Precautions.

4. Install the mounting fasteners (2) that secure the inflatable restraint I/P module.

Tighten
Tighten fasteners to 9 N.m (80 lb in).




5. Route the wiring harness (2) in place to secure the yellow 2-way connector clip to the I/P (3).
6. Install the I/P upper trim pad.

Preliminary, Early Release Information:




7. Clip the inflatable restraint I/P module yellow connector (2) to the I/P bracket (3).
8. Install the I/P module yellow connector (2) to the vehicle harness yellow connector (1).
9. Install the CPA (4) to the inflatable restraint I/P module connector (2).
10. Install the right closeout/insulator panel.
11. Enable the SIR system. Refer to Air Bag(s) Arming and Disarming.