Curiosii for ever!: Car repair manuals for everyone.

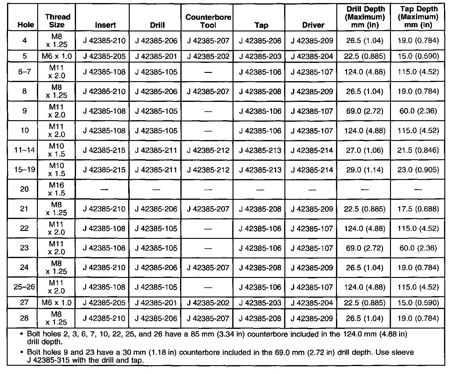
Thread Repair Specifications

Thread Repair Specification

Engine Block-Front View





Part 1 of 2





Part 2 of 2

Engine Block-Rear View





Part 1 of 2





Part 2 of 2

Engine Block-Left Side View





Part 1 of 3





Part 2 of 3





Part 3 of 3

Engine Block-Right Side View





Part 1 of 3





Part 2 of 3





Part 3 of 3

Engine Block-Bottom View





Part 1 of 3





Part 2 of 3





Part 3 of 3

Engine Block-Top View





Part 1 of 2





Part 2 of 2

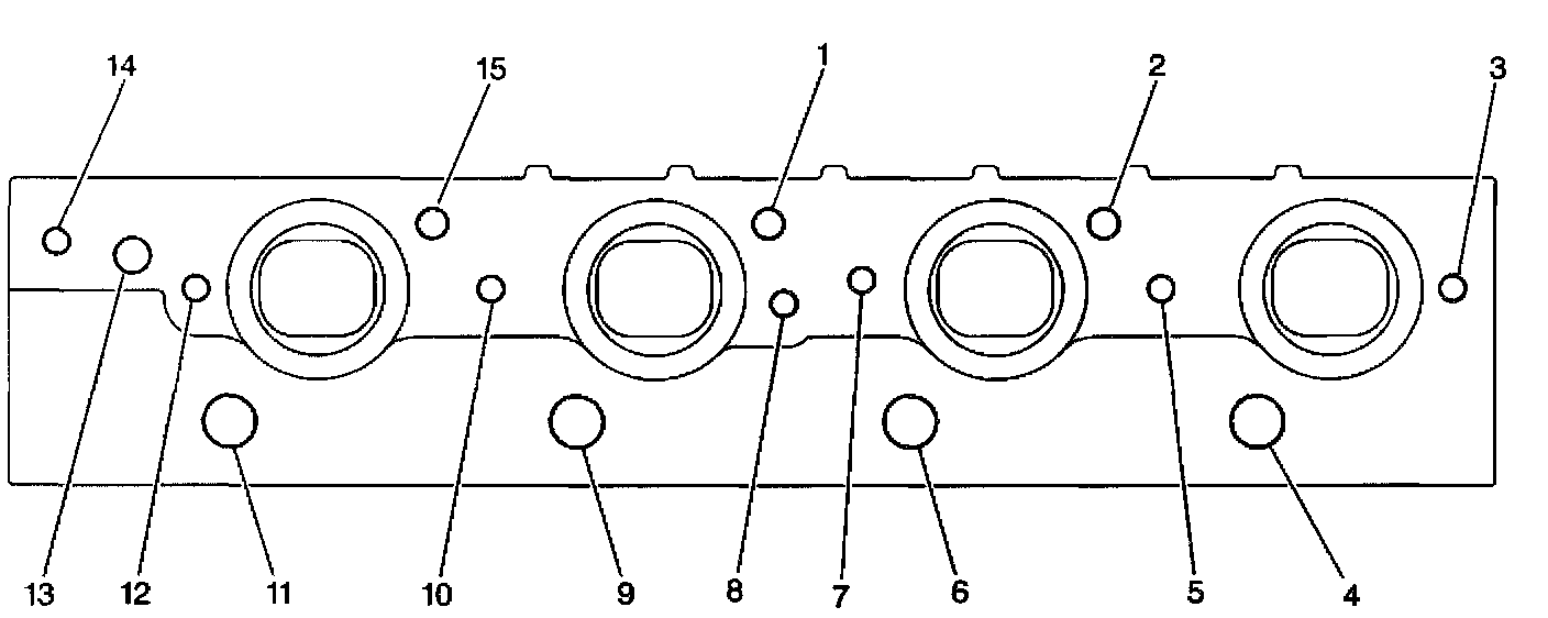
Cylinder Head-Top View





Part 1 of 2





Part 2 of 2

Cylinder Head-End View





Part 1 of 3





Part 2 of 3





Part 3 of 3

Cylinder Head-Exhaust Manifold Deck View





Part 1 of 2





Part 2 of 2

Cylinder Head-intake Manifold Deck View





Part 1 of 2





Part 2 of 2