Curiosii for ever!: Car repair manuals for everyone.

Positive: Service and Repair

REMOVAL PROCEDURE

CAUTION: Refer to Battery Disconnect Caution in Service Precautions.




1. Disconnect the negative battery cable.
2. Remove the positive battery cable from the battery.
3. Remove the positive battery cable (5) from the bottom of the fuse and relay box (1).
4. Remove the positive battery cable from the generator.




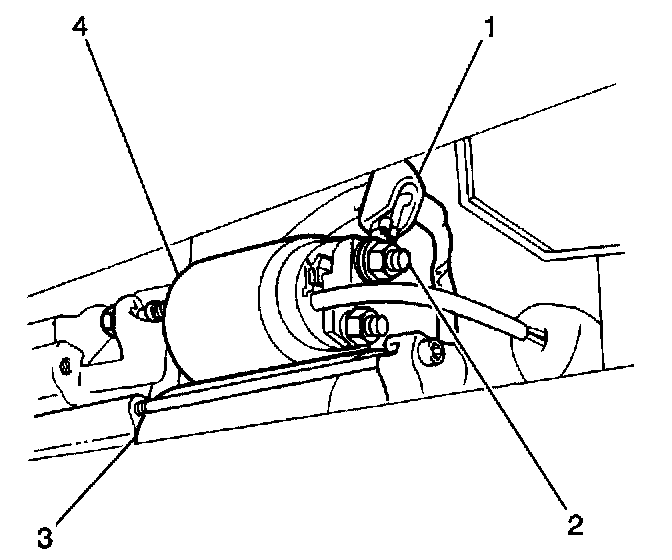
5. Remove the nut and the cable (2) from the starter solenoid.
6. Remove the cable from the harness hold down, and remove the cable.

INSTALLATION PROCEDURE




1. Position the positive battery cable (1) into the vehicle.

NOTE: Refer to Fastener Notice in Service Precautions.

2. Connect the cable to the starter solenoid (2). Secure the cable with a nut.

Tighten
Tighten the nut that retains the positive battery cable to the starter solenoid to 7 N.m (62 lb in).




3. Connect the positive battery cable to the generator.
4. Connect the cable (5) to the fuse and relay box.
5. Route the cable and secure the cable with the harness hold downs.
6. Connect the negative battery cable.