Curiosii for ever!
: Car repair manuals for everyone.
Home
>>
Pontiac
>>
2000
>>
Bonneville V6-3.8L SC VIN 1
>>
Repair and Diagnosis
>>
Powertrain Management
>>
Transmission Control Systems
>>
Diagrams
>>
Electrical Diagrams
>>
Automatic Transmission Control Schematics
>>
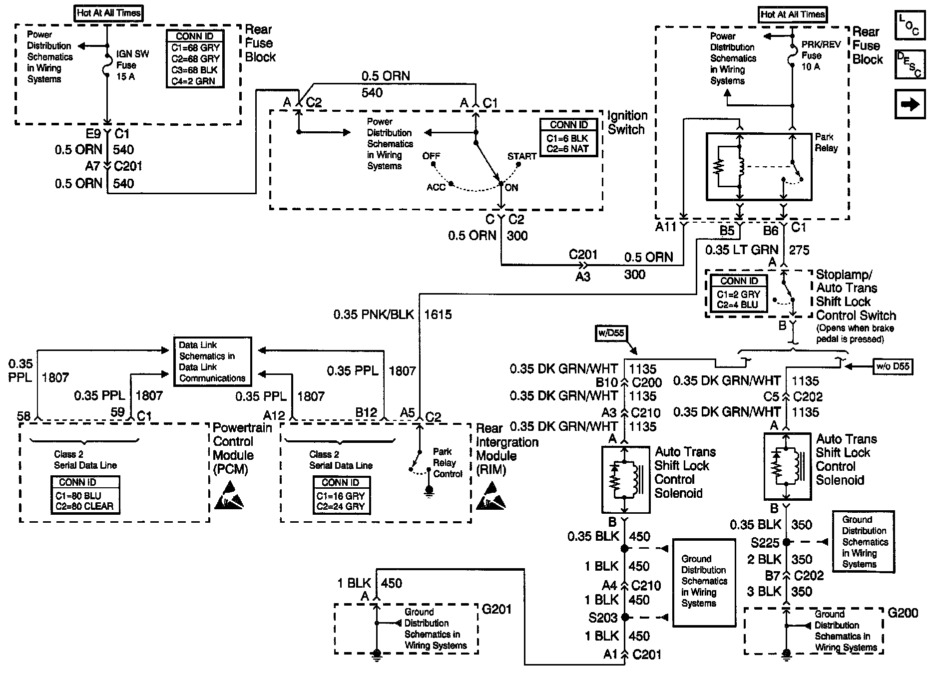
Auto Trans Shift Lock Control Solenoid: Class 2
Auto Trans Shift Lock Control Solenoid: Class 2