Curiosii for ever!
: Car repair manuals for everyone.
Home
>>
Pontiac
>>
2000
>>
Bonneville V6-3.8L SC VIN 1
>>
Repair and Diagnosis
>>
Powertrain Management
>>
Computers and Control Systems
>>
Relays and Modules - Computers and Control Systems
>>
Body Control Module
>>
Diagrams
>>
Electrical Diagrams
>>
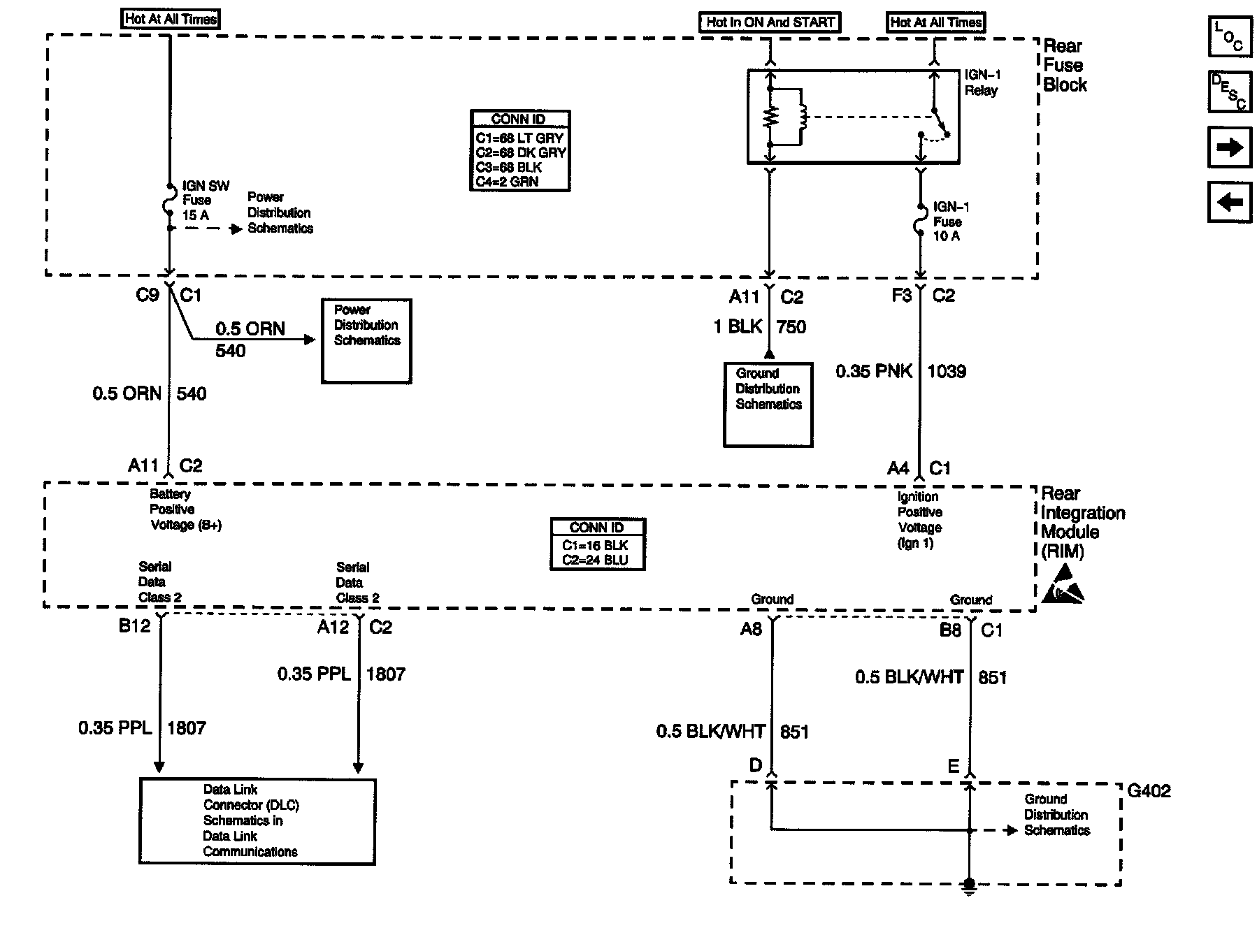
RIM Power and Ground
RIM Power and Ground
Body Control Module Schematics: RIM Power And Grounds: