Curiosii for ever!
: Car repair manuals for everyone.
Home
>>
Pontiac
>>
2000
>>
Bonneville V6-3.8L SC VIN 1
>>
Repair and Diagnosis
>>
Diagrams
>>
Electrical Diagrams
>>
Powertrain Management
>>
Computers and Control Systems
>>
Body Control Module
>>
Dash Integration Module (DIM)
>>
DIM Inputs And Outputs
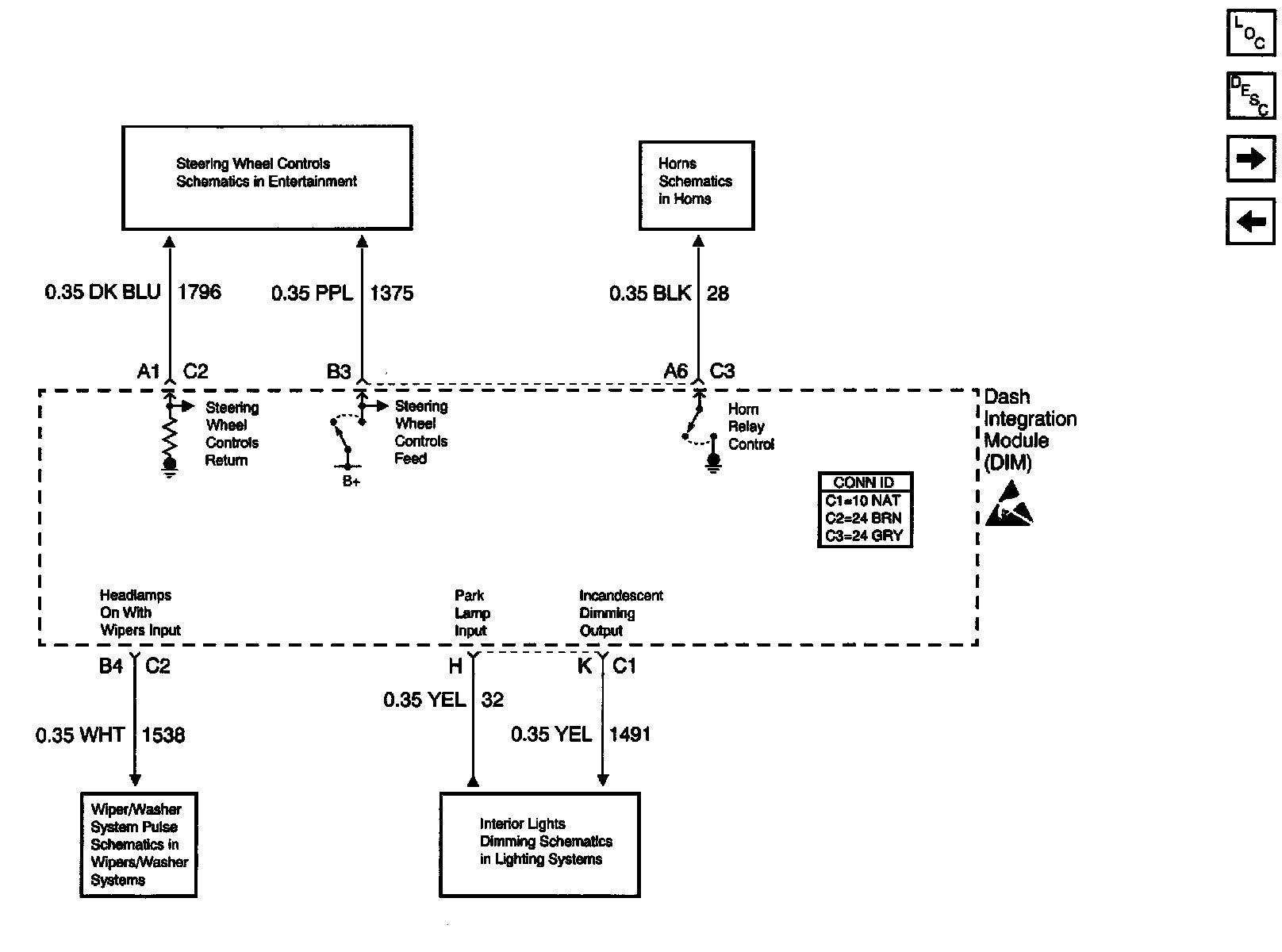
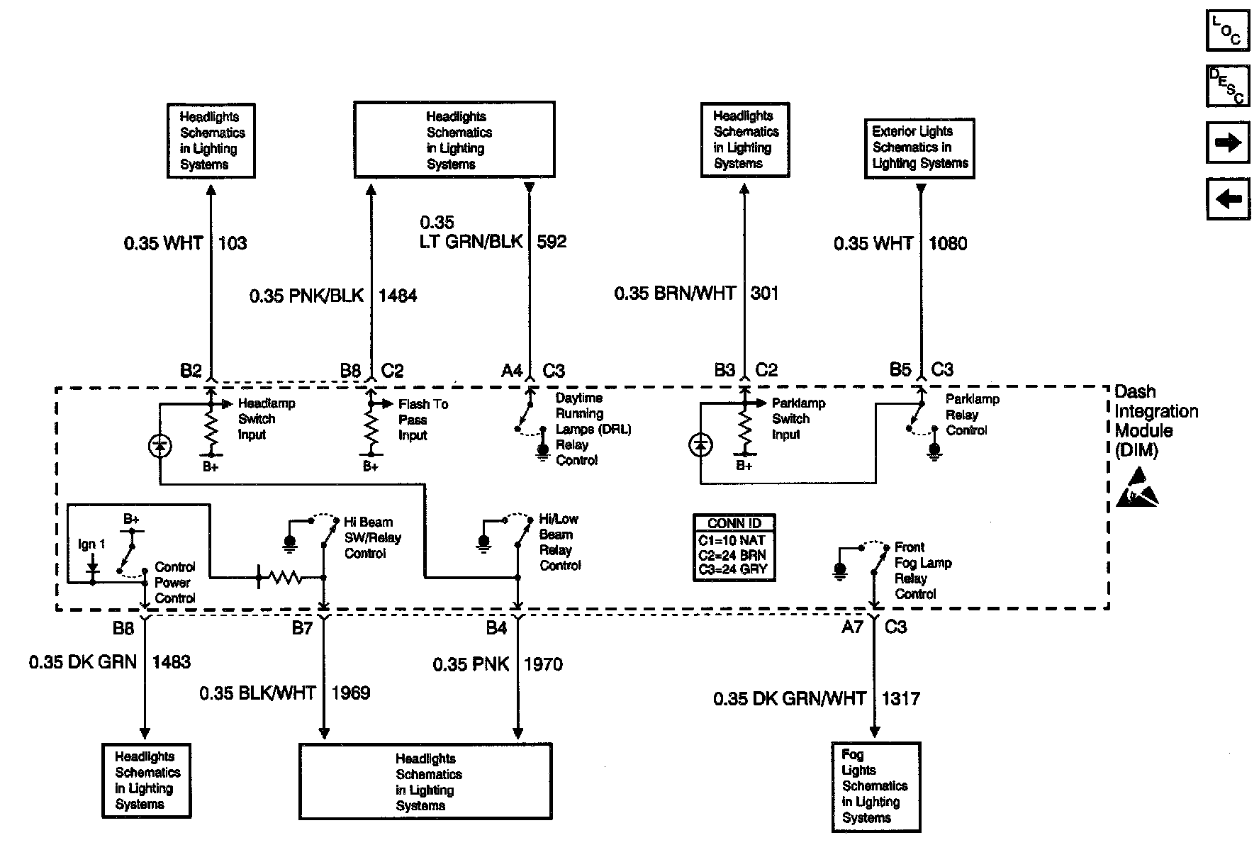
DIM Inputs And Outputs
Body Control Module Schematics: DIM Input/Output (1 Of 2):
Body Control Module Schematics: DIM Input/Output (2 Of 2):