Curiosii for ever!: Car repair manuals for everyone.

Subframe: Service and Repair





Frame Removal

Removal Procedure

1. Remove the air cleaner and duct for access, if necessary. Refer to Air Cleaner Assembly Replacement Service and Repair.
2. Disconnect the battery ground negative cable.
3. Install the Engine Support Fixture. Refer to Engine Support Fixture Removal and Replacement.
4. Tighten the wing nuts only enough to remove the slack from the hooks.
5. Raise and suitably support the vehicle.
6. Position a jackstand under the engine for support.
7. Remove the front tire and wheel.
8. Remove the intermediate shaft from the steering gear stub shaft. Refer to Intermediate Steering Shaft Replacement Service and Repair.
9. Remove the power steering cooler line pipe brackets for access, if necessary. Refer to Power Steering Cooler Pipe/Hose Replacement Service and Repair.
10. Remove both lower ball joints from the lower control arms. Refer to Lower Control Arm Ball Joint Replacement Service and Repair.
11. Remove the engine mounts. Refer to Engine Mount Replacement [1][2]Engine Mount Replacement.
12. Remove the transaxle mounts. Refer to Transmission Mount Replacement Service and Repair.
13. Have an assistant hold the frame while removing the frame bolts.






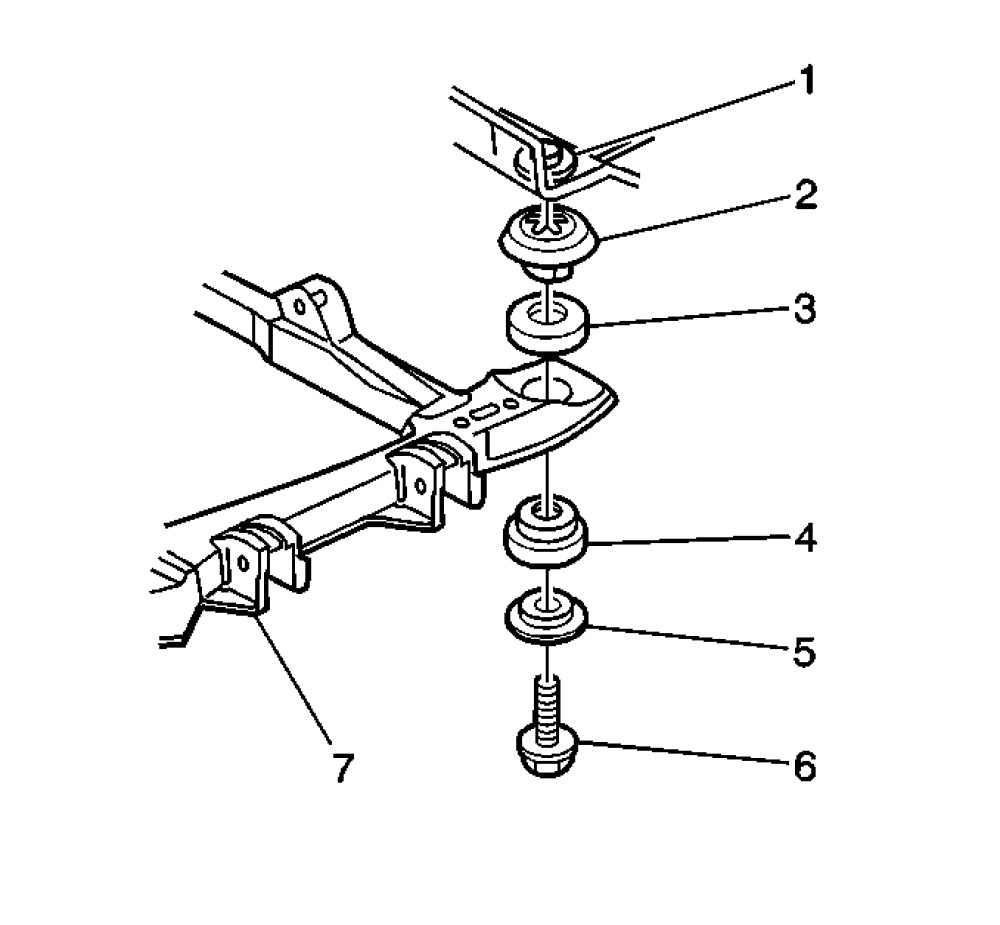
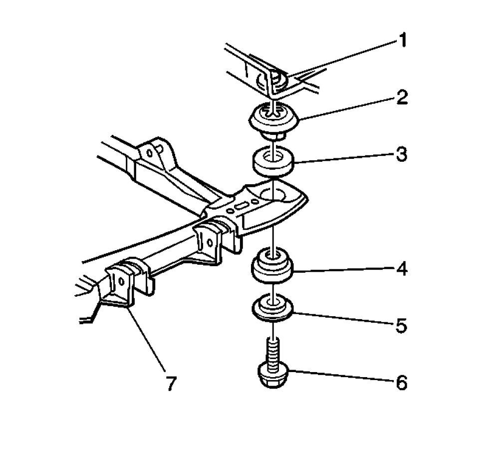
14. Remove the frame with both lower control arms and the stabilizer shaft attached.

Work the frame downward toward the rear of the vehicle.

15. Remove both lower control arms and stabilizer shaft if replacing the frame. Refer to Lower Control Arm Replacement Service and Repair.
16. Remove the transaxle mounting bracket if replacing the frame. Refer Transmission Mount Bracket Replacement Service and Repair.






17. Remove the following components if replacing the frame:
- Spacers (2)
- Upper and lower insulators (3, 4)
- Retainers (5)

Installation Procedure






1. Install the following components if removed:

- Spacers (2)
- Upper and lower insulators (3,4)
- Retainers (5)
- Completely seat the insulators against the frame.

2. Install the lower control arms and stabilizer shaft, if removed. Refer to Lower Control Arm Replacement Service and Repair.
3. Install the transaxle mounting bracket, if removed. Refer to Transmission Mount Bracket Replacement Service and Repair.
4. Position the frame with the aid of an assistant.

Install the new frame bolts.

Do not tighten the new frame bolts.

5. Align the frame to the body by inserting 2 long pins in the alignment holes on the right side of the frame.

The long pin dimensions are 19 mm by 203 mm (0.750 in by 8.0 in).

Notice: Use the correct fastener in the correct location. Replacement fasteners must be the correct part number for that application. Fasteners requiring replacement or fasteners requiring the use of thread locking compound or sealant are identified in the service procedure. Do not use paints, lubricants, or corrosion inhibitors on fasteners or fastener joint surfaces unless specified. These coatings affect fastener torque and joint clamping force and may damage the fastener. Use the correct tightening sequence and specifications when installing fasteners in order to avoid damage to parts and systems.

6. Install the new frame bolts and washers.

Tighten
Tighten the bolts to 180 Nm (133 lb ft).

7. Install the engine mounts. Refer to Engine Engine Mount Replacement [1][2]Engine Mount Replacement.
8. Install the transaxle mounts. Refer to Transmission Mount Replacement Service and Repair.
9. Install the lower ball joints. Refer to Lower Control Arm Ball Joint Replacement Service and Repair.
10. Install the power steering cooler line pipe brackets, if removed. Refer to Power Steering Cooler Pipe/Hose Replacement Service and Repair.
11. Install the intermediate shaft to the steering gear stub shaft. Refer to Intermediate Steering Shaft Replacement Service and Repair.
12. Install the front tire and wheel.
13. Remove the jackstand. Lower the vehicle.
14. Remove the following tools:

Refer to Engine Support Fixture Removal and Replacement.

15. Connect the battery ground negative cable.
16. Install the air cleaner and duct, if removed. Refer to Air Cleaner Assembly Replacement Service and Repair.
17. Inspect the front wheel alignment and adjust the alignment, if necessary. Refer to Wheel Alignment Measurement Specifications.