Curiosii for ever!: Car repair manuals for everyone.

EGR Control Solenoid: Service and Repair

REMOVAL PROCEDURE

IMPORTANT: The exhaust gas recirculation (EGR) solenoid vacuum valve and the EGR bypass valve are serviced as a unit.




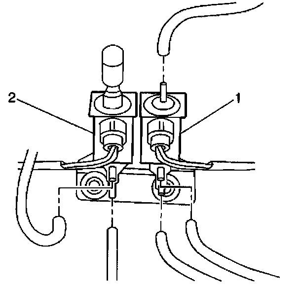
1. Disconnect the two vacuum hoses from the EGR solenoid vacuum valve (2).
2. Disconnect the three vacuum hoses from the EGR bypass valve (1).




3. Disconnect the electrical connector from the EGR solenoid vacuum valve (2).
4. Disconnect the electrical connector from the EGR bypass valve (1).




5. Remove the two screws from the bracket securing the two EGR vacuum solenoids.
6. Remove the EGR vacuum solenoids.

INSTALLATION PROCEDURE




1. Install the EGR vacuum solenoids to the bracket and secure with the two screws.




2. Connect the EGR solenoid vacuum valve electrical connector (2).
3. Connect the EGR bypass valve electrical connector (1).




4. Connect the two vacuum hoses to the EGR solenoid vacuum valve (2).
5. Connect the three vacuum hoses to the EGR bypass valve (1).